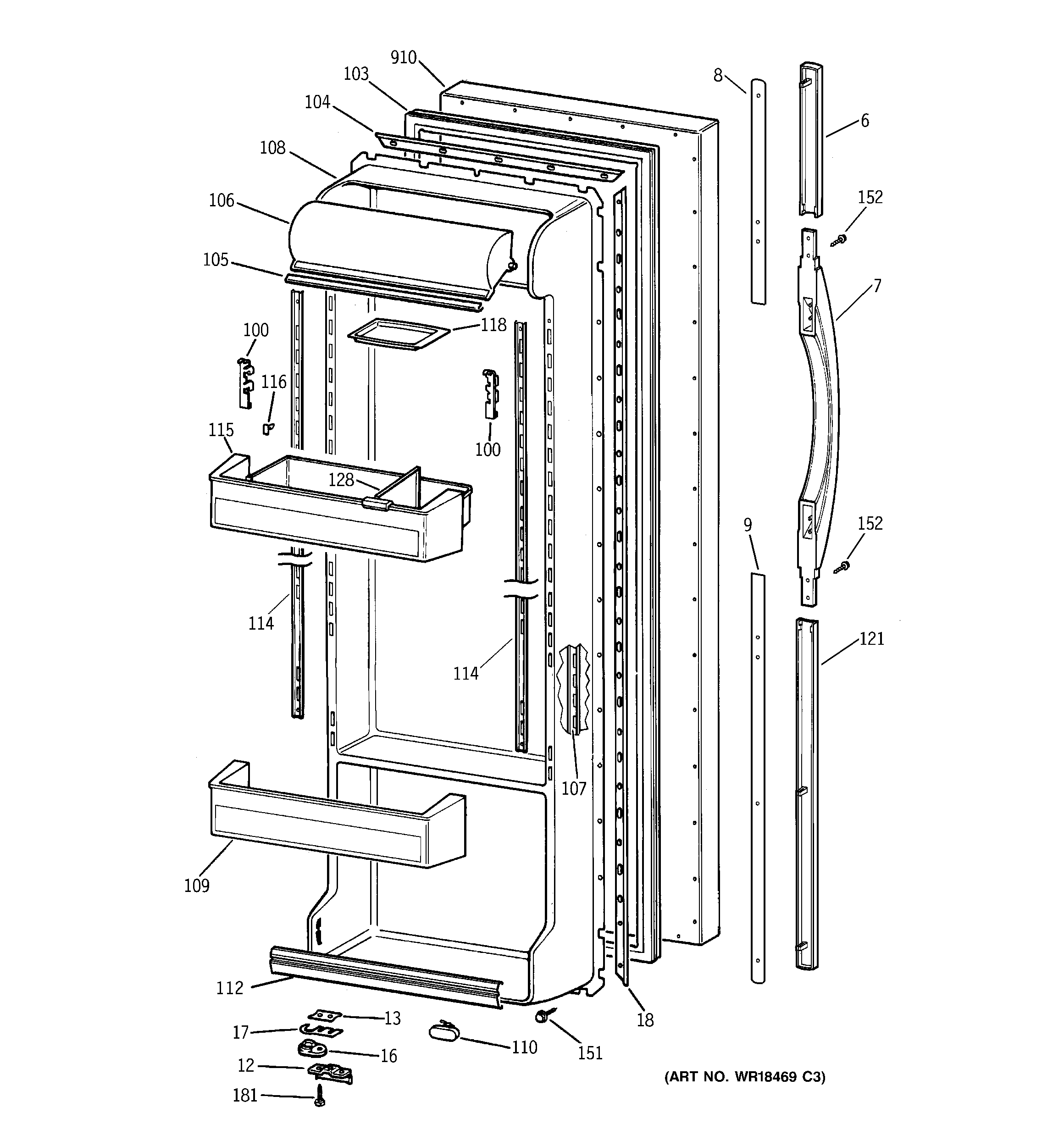
TFM25PRBCAA FRESH FOOD DOORadmin2025-04-26T11:57:05+00:00TFM25PRBCAA FRESH FOOD DOOR ProductsPositionProduct6GEN WR12X101497GEN WR12X101168GEN WR12X101509GEN WR12X1012012GEN WR02X930213SHIM CAM DOOR STOP16WR02X10140 GE Refrigerator Hinge Cam Riser17GEN WR02X749117GEN WR02X914718GEN WR17X2092100GEN WR02X8409100GEN WR02X8410103GEN WR24X0526104GEN WR17X1168105GEN WR38X2037106GEN WR22X0383107GEN WR72X0256108WR1X1718 GE Screw108GEN WR77X0681109GEN WR71X2604110GEN WR02X8989112GEN WR17X10435114GEN WR72X0257115GEN WR71X2603116GEN WR02X7829118GEN WR19X0037121GEN WR12X10118128GEN WR02X7971151WR01X10623 GE Refrigerator Screw 8-18 AB IHXW 9/16 S152GEN WR01X10038181GEN WZ06X0105910GEN WR78X10200