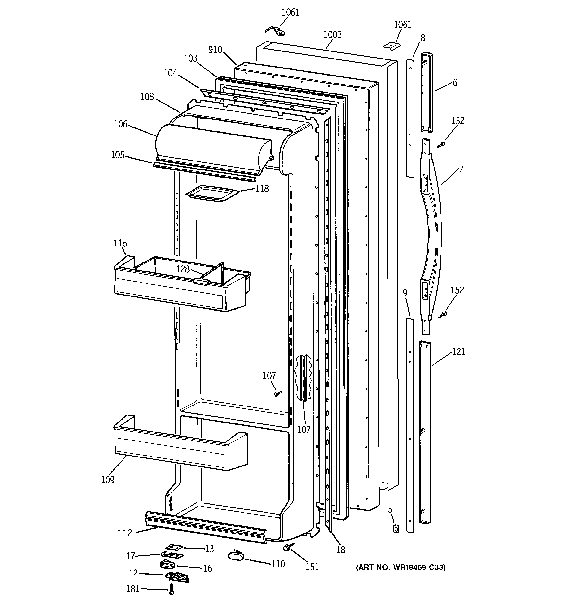
TFM26PRDABS FRESH FOOD DOORadmin2025-04-26T11:59:09+00:00TFM26PRDABS FRESH FOOD DOOR ProductsPositionProduct5GEN WR02X104326GEN WR12X101517GEN WR12X101328GEN WR12X101509GEN WR12X1012012GEN WR02X721313SHIM CAM DOOR STOP16WR02X10140 GE Refrigerator Hinge Cam Riser17GEN WR02X749117GEN WR02X914717GEN WR02X701118GEN WR17X2092103GEN WR24X0532104GEN WR17X1168105GEN WR38X2037106GEN WR22X0383107GEN WR72X10036107GEN WR01X10163108GEN WR77X10024109GEN WR71X10208110GEN WR02X8989112GEN WR17X10451115GEN WR71X10207118GEN WR19X0037121GEN WR12X10134151WR01X10623 GE Refrigerator Screw 8-18 AB IHXW 9/16 S152GEN WR01X10038181GEN WR01X10161910GEN WR78X102031003GEN WR99X100031061GEN WR02X101251061GEN WR02X10127