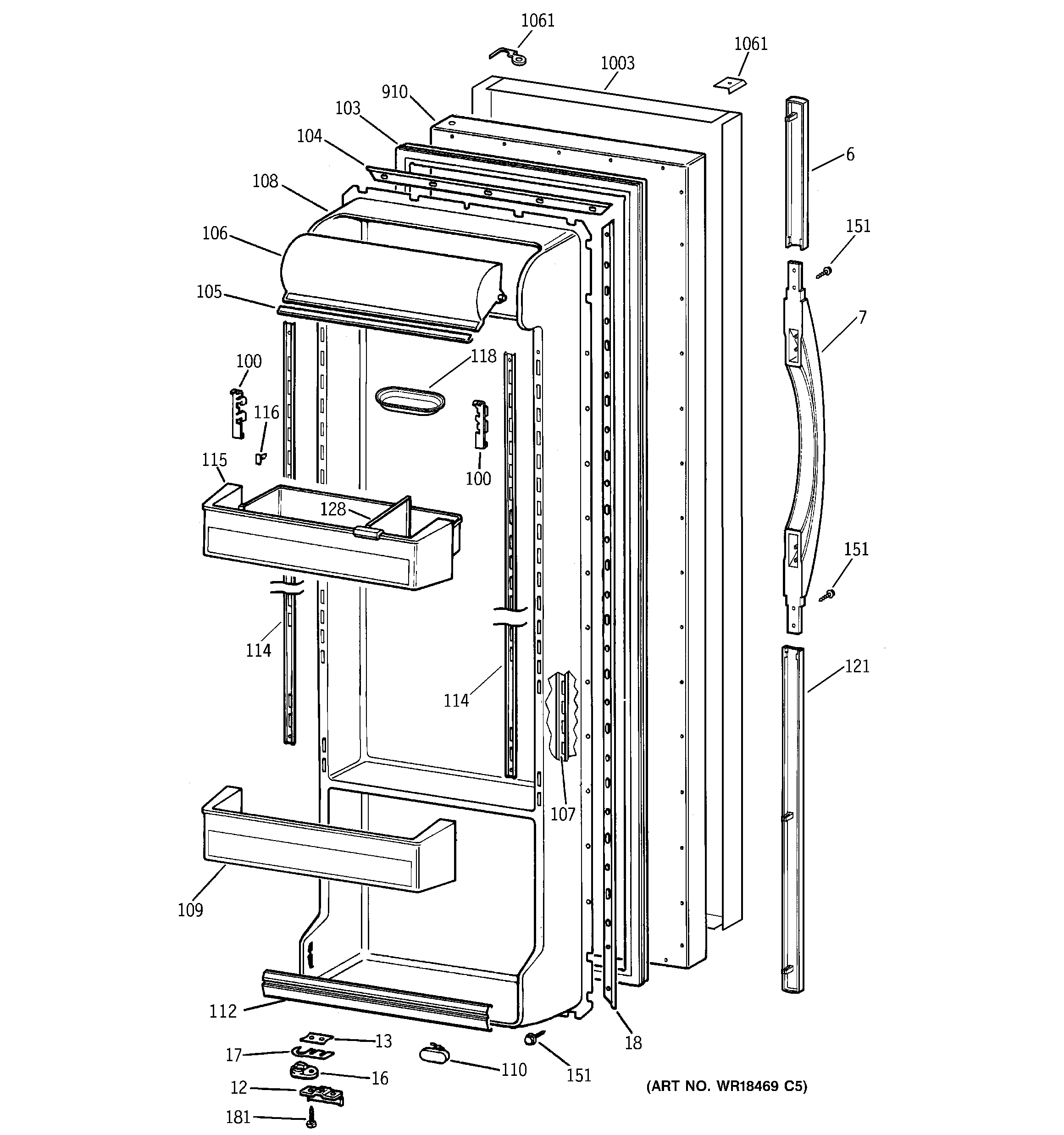
TFS22PPBEBS FRESH FOOD DOORadmin2025-04-26T11:56:30+00:00TFS22PPBEBS FRESH FOOD DOOR ProductsPositionProduct6GEN WR12X101337GEN WR12X1013212GEN WR02X721313SHIM CAM DOOR STOP16WR02X10140 GE Refrigerator Hinge Cam Riser17GEN WR02X749117GEN WR02X914718GEN WR17X1169100GEN WR02X8410100GEN WR02X8409103GEN WR24X0535104GEN WR17X1168105GEN WR38X2037106GEN WR22X0383107GEN WR72X0256108WR1X1718 GE Screw108GEN WR77X0672109GEN WR71X2604110GEN WR02X8989112GEN WR17X10435114GEN WR72X0257115GEN WR71X2603116GEN WR02X7829118GEN WR19X0037121GEN WR12X10134128GEN WR02X7971151WR01X10623 GE Refrigerator Screw 8-18 AB IHXW 9/16 S181GEN WR01X10161910GEN WR78X101961003GEN WR99X100011061GEN WR02X101251061GEN WR02X10127