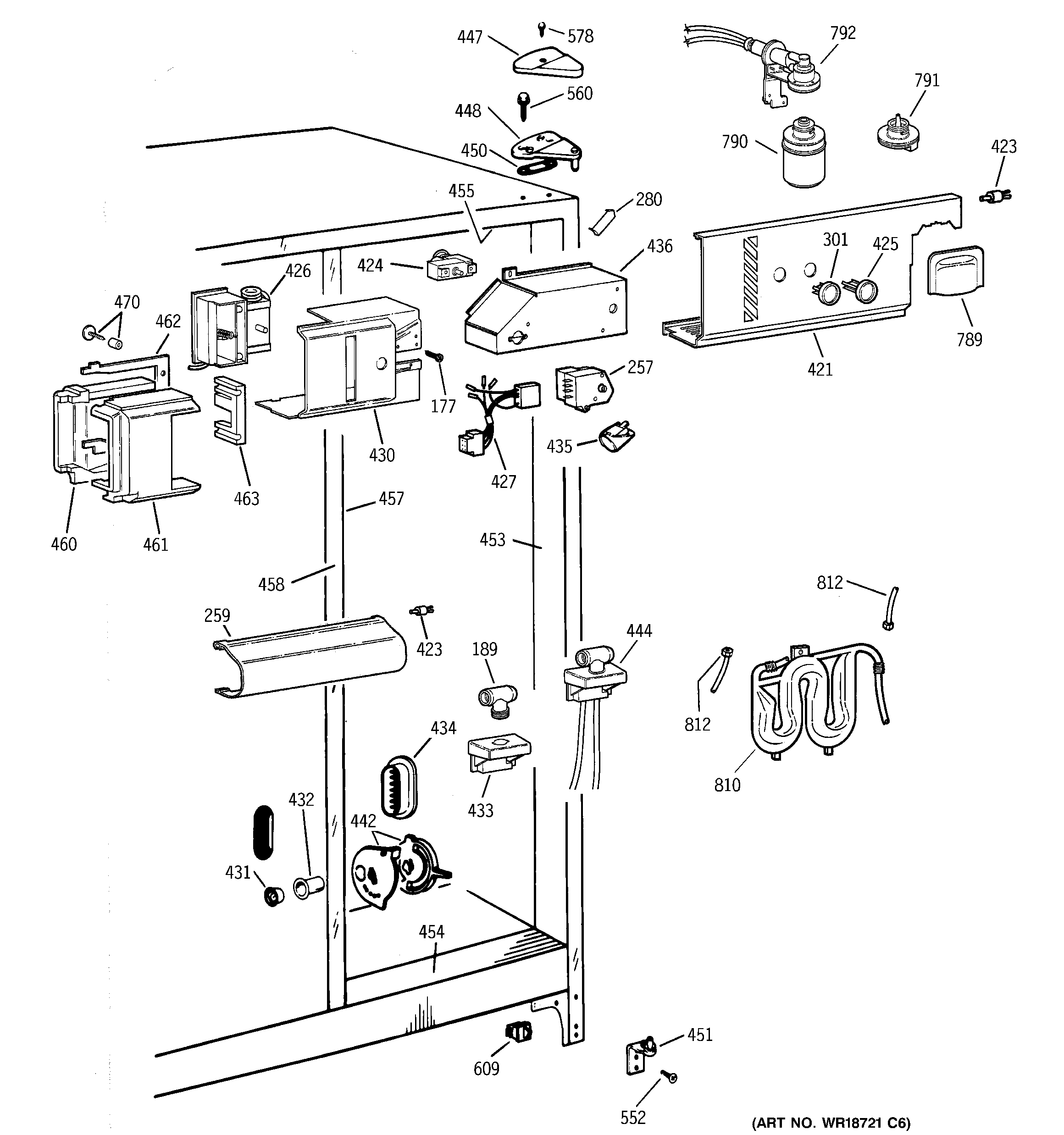
TFS26PPDABS FRESH FOOD SECTIONadmin2025-04-26T11:57:00+00:00TFS26PPDABS FRESH FOOD SECTION ProductsPositionProduct177SCREW189GEN WR02X9243257DEFROST TIMER259GEN WR17X3909280GEN WR02X8524301GEN WR02X10429421GEN WR17X10555423GEN WR02X10050423GEN WR02X6347424GEN WR09X0599424GEN WR02X8914425GEN WR02X10430426GEN WR09X0522427GEN WR23X0489430GEN WR17X3416431WR2X9299 GE Refrigerator Air Duct Cap Mullion432GEN WR02X8654433GEN WR02X9239434GEN WR02X9431435RANGE ONLY 40W 120V APPL BULB435WR2X9391 GE Socket and Terminal436GEN WR02X8909442GEN WR02X9432444GEN WR23X10129447GEN WR02X8846447GEN WR02X8845448GEN WR13X0659450GEN WR02X4194451WR13X10020 GE Refrigerator Door Hinge Assembly with Cam453GEN WR40X1734454GEN WR40X1735455GEN WR40X1736457GEN WR40X10029458GEN WR40X1739458GEN WR02X10334458GEN WR02X9376460GEN WR02X8911461GEN WZ06X0136461GEN WR02X8910462GEN WR14X0442463GEN WR82X0338470GEN WR14X0465470GEN WR01X1929552WR01X10600 GE Refrigerator Screw 12-24 Tapping Hex .811 S Z560GEN WR01X2140578WZ2X464D GE Screw609WR23X37285 GE Light Switch789GEN WR17X10132790MWFP GE Replacement Water Filter Pureline for Refrigerator791GEN WR02X10173792GEN WR17X10450810GEN WR17X10507812WR17X2891 GE Refrigerator 5/16" X 6FT Plastic Water Line Tubing