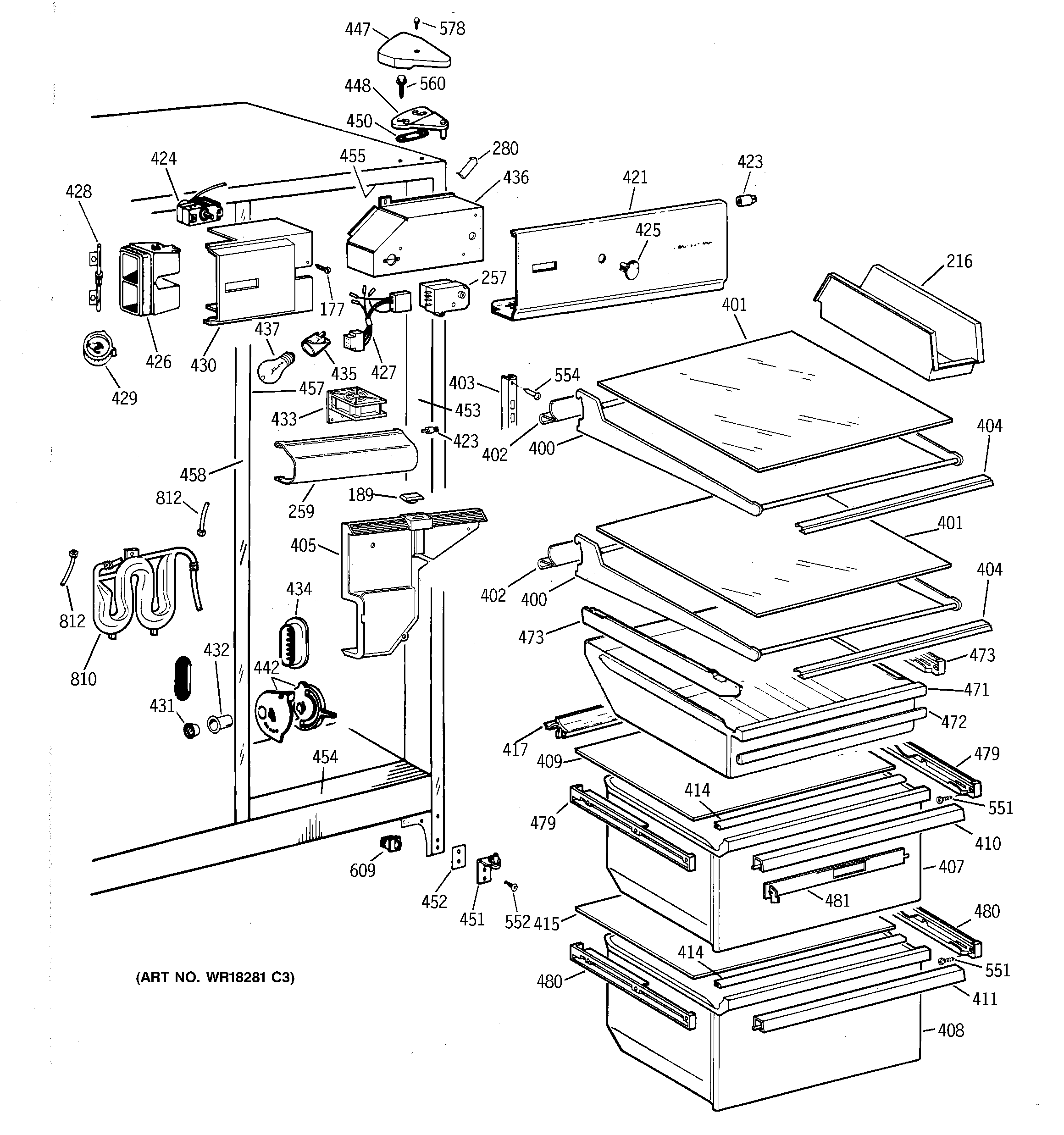
TFT22JWXDAA FRESH FOOD SECTION

TFT22JWXDAA FRESH FOOD SECTION

Products

PositionProduct
177SCREW
189GEN WR01X2115
216GEN WR32X1575
257WR9X502 GE Refrigerator Defrost Timer
259GEN WR17X4077
280GEN WR02X8519
400GEN WR71X2292
401GEN WR32X1501
402GEN WR38X2146
403GEN WR71X2588
404GEN WR38X2150
405GEN WR17X3890
407WR32X1492 GE Refrigerator Vegetable Pan
408GEN WR32X1493
409GEN WR32X1500
410GEN WR17X4075
411GEN WR17X4076
414GEN WR14X0431
415GEN WR32X1473
417GEN WR14X0470
421GEN WR17X4115
423GEN WR02X6347
424GEN WR09X0570
425GEN WR02X9390
426GEN WR02X8425
426GEN WR02X8514
427GEN WR23X0469
428GEN WR02X4835
429GEN WR02X9380
430GEN WR17X2209
431WR2X9299 GE Refrigerator Air Duct Cap Mullion
432GEN WR02X8654
433GEN WR60X0246
434GEN WR02X9431
435WR2X9391 GE Socket and Terminal
436GEN WR02X7736
437RANGE ONLY 40W 120V APPL BULB
442GEN WR02X9430
447GEN WR02X8263
448GEN WR13X0743
450GEN WR02X4194
451WR13X10020 GE Refrigerator Door Hinge Assembly with Cam
452GEN WR02X9442
452SHIM HINGE BTM.
453GEN WR40X1744
454GEN WR40X1745
455GEN WR40X1746
457GEN WR40X1748
458GEN WR40X1751
458GEN WR02X4739
458GEN WR02X7033
458GEN WR02X9376
471WR2X8349 GE Screw Grommet
471GEN WR32X1339
472GEN WR17X4079
473WR1X2048 GE Refrigerator Slide Bearing
473GEN WR72X0210
473GEN WR72X0211
479WR72X240 GE Slide Assembly Right Hand
479WR72X239 GE Refrigerator Left Hand Slide Assembly
480GEN WR72X0253
480WR72X252 GE Refrigerator Slide Assembly Left Hand
481GEN WR01X2079
551GEN WZ04X0244
552WR01X10600 GE Refrigerator Screw 12-24 Tapping Hex .811 S Z
554WR01X10601 GE Refrigerator Screw 10-24 TT IHXW
560GEN WR01X2140
578WZ2X464D GE Screw
609WR23X37285 GE Light Switch
810WR17X4358 GE Refrigerator Water Tank
812WR17X2891 GE Refrigerator 5/16" X 6FT Plastic Water Line Tubing