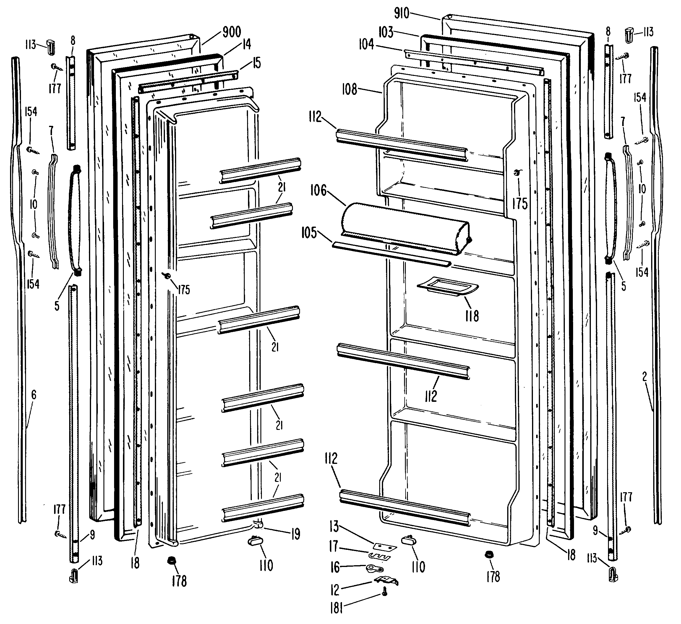
TFX20DKC 0