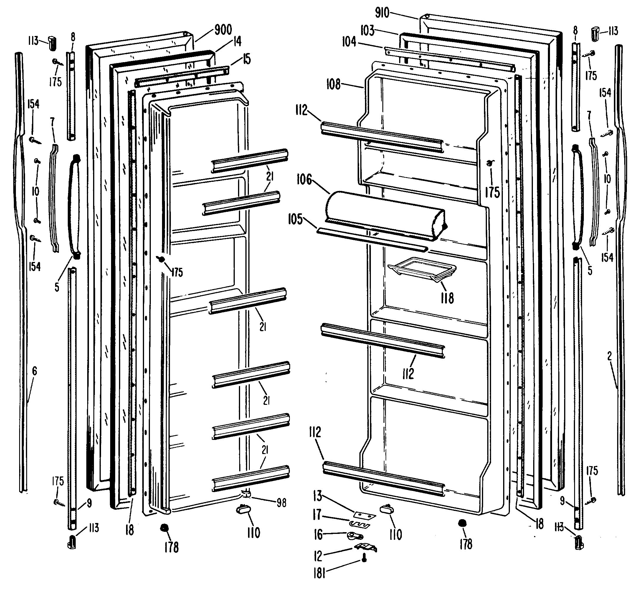
TFX20DLP 0