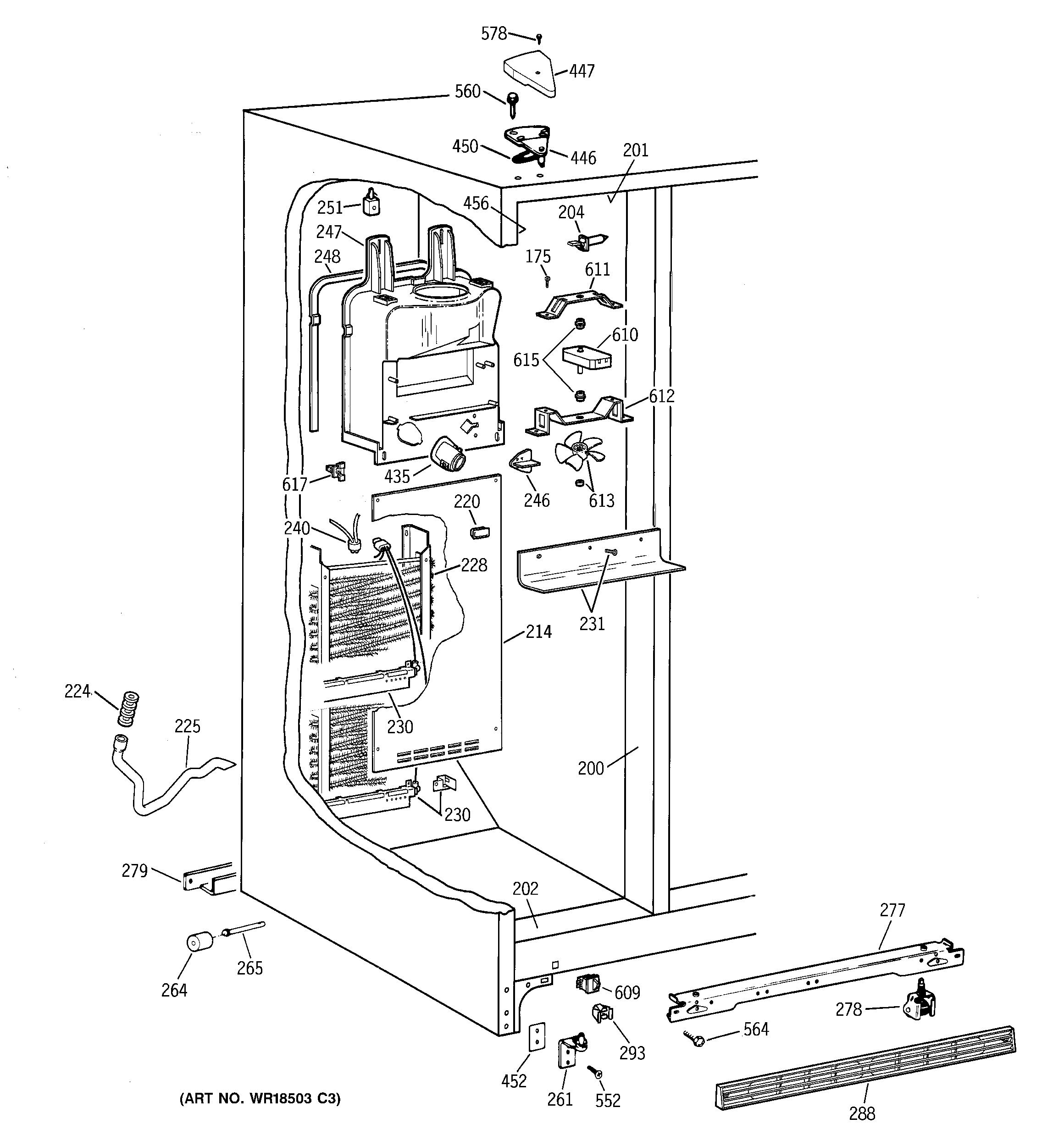
TFX20JABAAA FREEZER SECTIONadmin2025-04-26T10:47:31+00:00TFX20JABAAA FREEZER SECTION ProductsPositionProduct175WR01X10652 GE Refrigerator Screw 8-18 AB IHW 5/8 S200GEN WR40X1741201GEN WR40X1742202GEN WR40X1743204GEN WR02X9217206GEN WR71X1888207GEN WR02X4676208GEN WR02X4674209GEN WR38X2151211GEN WR21X0183212GEN WR38X2149213WR30X311 GE Refrigerator Ice Tray214GEN WR14X0455214GEN WR01X2128214GEN WR17X3919215GEN WR32X0897220GEN WR02X9002224GEN WR02X8657225GEN WR01X5042225GEN WR02X8293228WR87X28949 GE Refrigerator Evaporator230WR51X442 GE Refrigerator Defrost Heater Assembly230GEN WR02X8671231GEN WR17X3666231GEN WR01X2110231GEN WR01X1987236GEN WR02X4548237GEN WR02X7036240WR50X122 GE Refrigerator Defrost Bi-metal Thermostat246GEN WR02X10102247GEN WR17X10226248GEN WR14X0493251GEN WR02X2880258GEN WR17X10212261WR13X10020 GE Refrigerator Door Hinge Assembly with Cam264WR2X3594 GE Refrigerator Wheel265GEN WR02X4742265GEN WR02X3595268GEN WR23X0312269GEN WR02X6087270WR2X8474 GE Fill Tube270GEN WR02X3248275GEN WR02X9004277GEN WR17X3117278WHEEL ASM FRT279GEN WR17X10059288GEN WR74X0258293GEN WR02X7080435WR2X9391 GE Socket and Terminal435RANGE ONLY 40W 120V APPL BULB446GEN WR13X0647447GEN WR02X8263450GEN WR02X4194452GEN WR02X9442456GEN WR40X1747551GEN WZ04X0244552WR01X10600 GE Refrigerator Screw 12-24 Tapping Hex .811 S Z560GEN WR01X2140564GEN WR01X1194578WZ2X464D GE Screw609WR23X37285 GE Light Switch610WR60X10008 GE Refrigerator Evaporator Fan Motor611BRACKET COND. FAN612GEN WR02X10101613WR60X114 GE Refrigerator Evaporator Motor Fan Blade613GEN WR60X10011615GROMMET EVAP