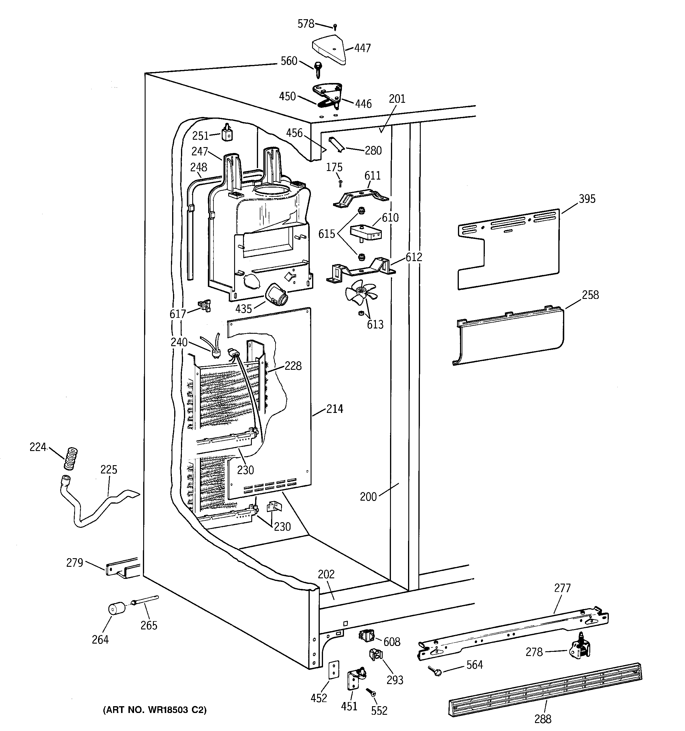
TFX20JRBBAA FREEZER SECTIONadmin2025-04-26T10:45:58+00:00TFX20JRBBAA FREEZER SECTION ProductsPositionProduct175WR01X10652 GE Refrigerator Screw 8-18 AB IHW 5/8 S200GEN WR40X1741201GEN WR40X1742202GEN WR40X1743206GEN WR71X1888207GEN WR02X4676208GEN WR02X4674209GEN WR38X2151211GEN WR21X0183212GEN WR38X2149214GEN WR17X3919214GEN WR14X0455214GEN WR01X2128224GEN WR02X8657225GEN WR01X5042225GEN WR02X8293228WR87X28949 GE Refrigerator Evaporator230GEN WR02X8671230WR51X442 GE Refrigerator Defrost Heater Assembly236GEN WR02X4548237GEN WR02X7036240WR50X122 GE Refrigerator Defrost Bi-metal Thermostat247GEN WR17X10226248GEN WR14X0493251GEN WR02X2880258GEN WR17X3484264WR2X3594 GE Refrigerator Wheel265GEN WR02X3595265GEN WR02X4742265GEN WR02X3598268GEN WR23X0312269GEN WR02X7927270WR2X8474 GE Fill Tube270WR2X4754 GE Refrigerator Fill Clamp277GEN WR17X3117278WHEEL ASM FRT279GEN WR17X10059280GEN WR02X8519288GEN WR74X0258293GEN WR02X7080368GEN WR02X8459368WR01X10618 GE Refrigerator Screw 8-18 TPT 1/4395GEN WR17X10220435RANGE ONLY 40W 120V APPL BULB435WR2X9391 GE Socket and Terminal446GEN WR13X0647447GEN WR02X8263450GEN WR02X4194451WR13X10020 GE Refrigerator Door Hinge Assembly with Cam452GEN WR02X9442456GEN WR40X1747552WR01X10600 GE Refrigerator Screw 12-24 Tapping Hex .811 S Z560GEN WR01X2140564GEN WR01X1194578WZ2X464D GE Screw608WR23X427 GE Refrigerator Freezer Light Switch610WR60X10008 GE Refrigerator Evaporator Fan Motor611BRACKET COND. FAN612GEN WR02X10101613GEN WR60X10011613WR60X114 GE Refrigerator Evaporator Motor Fan Blade615GROMMET EVAP617WR2X8349 GE Screw Grommet805WR1X5278 GE Refrigerator Cable Clamp806WR17X11349 GE Refrigerator Plastic Tube820WR30X10093 GE Refrigerator Ice Maker