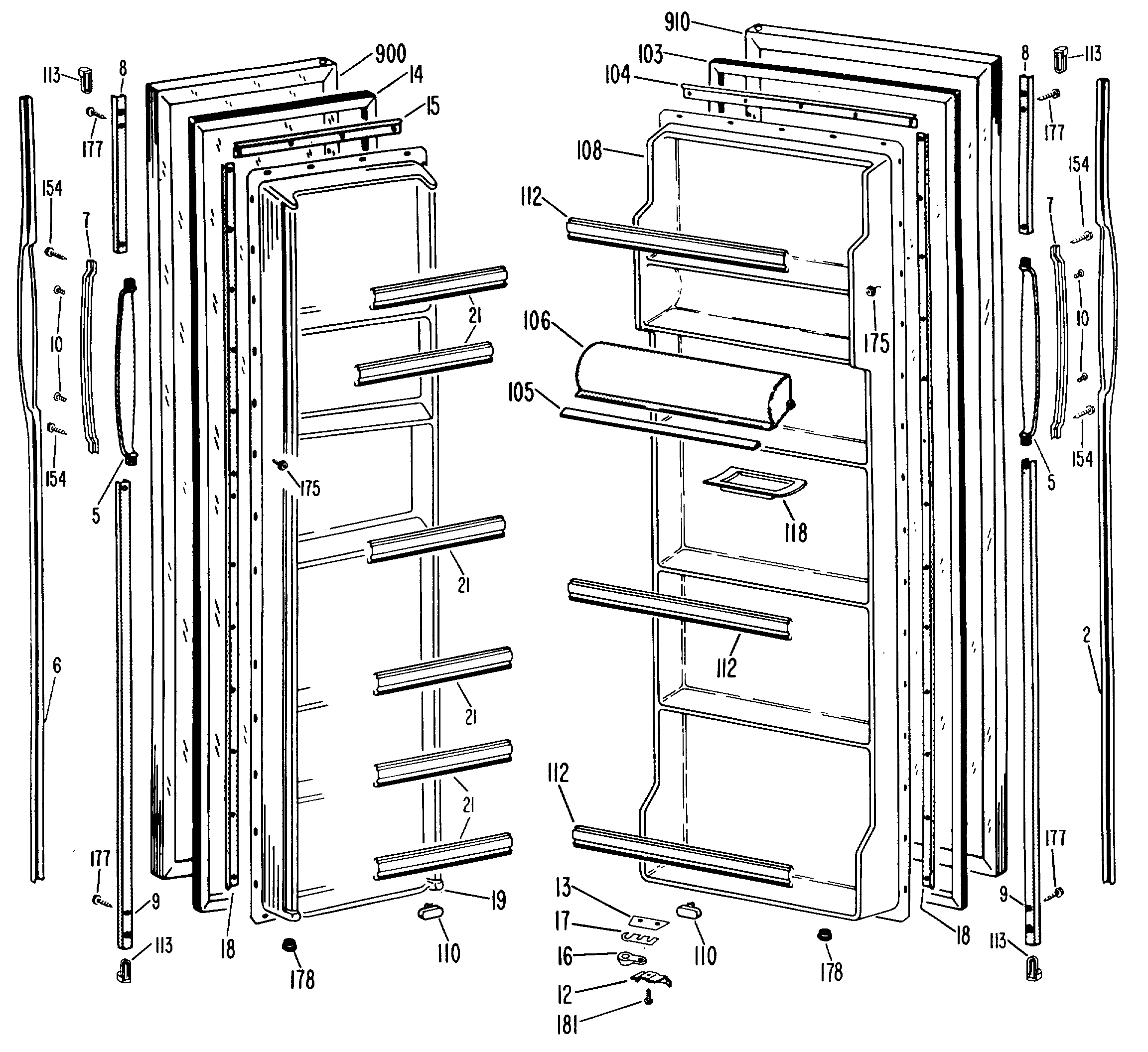
TFX20PKE 0