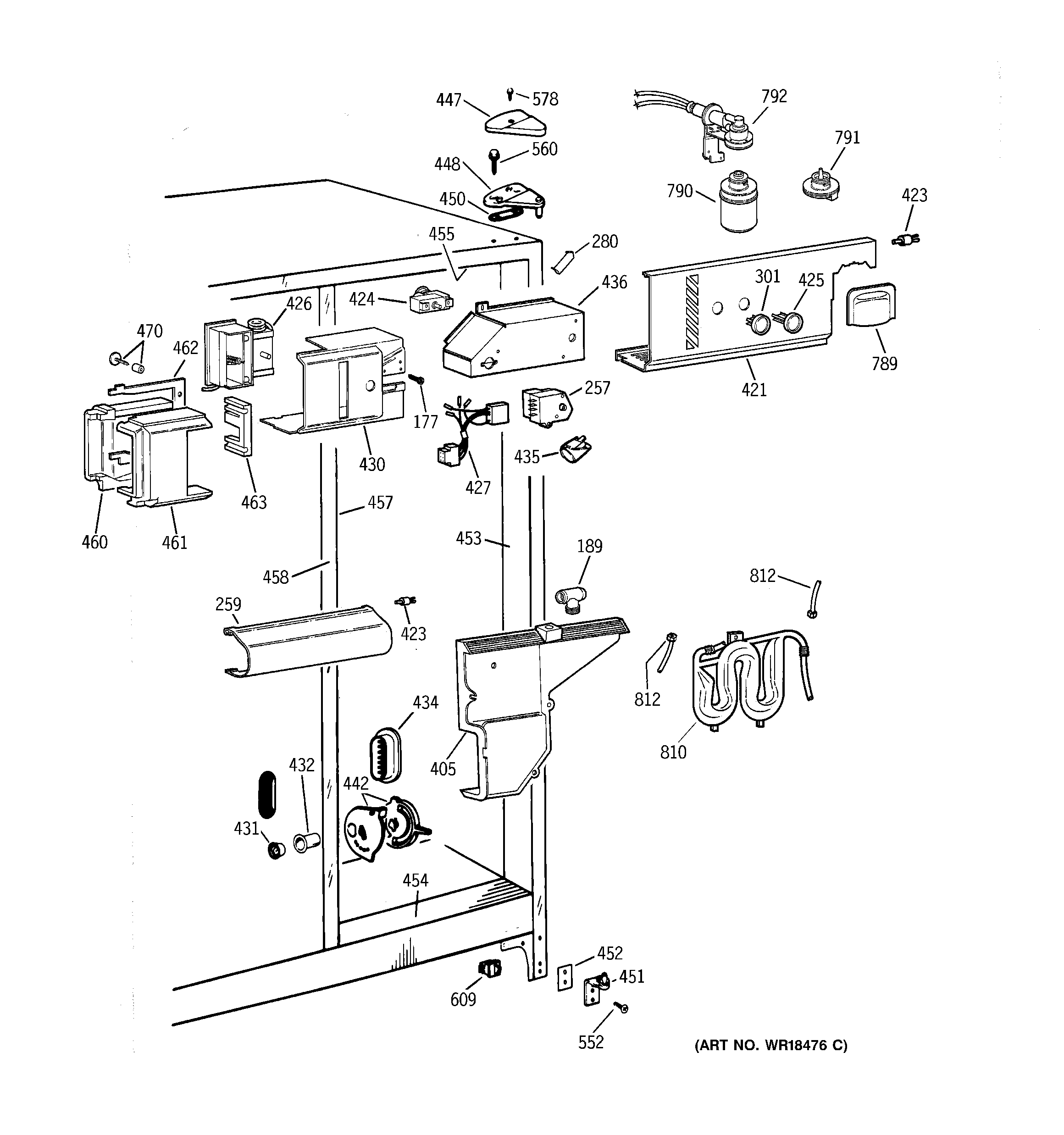
TFX22PPBCBB FRESH FOOD SECTIONadmin2025-04-26T10:41:54+00:00TFX22PPBCBB FRESH FOOD SECTION ProductsPositionProduct177SCREW189GEN WR02X9243257DEFROST TIMER259GEN WR17X3909280GEN WR02X8524301GEN WR02X9215405GEN WR17X3890421GEN WR17X10131423GEN WR02X10050423GEN WR02X6347424GEN WR09X0599424GEN WR02X8914425GEN WR02X9216426GEN WR09X0522427GEN WR23X0489430GEN WR17X3416431WR2X9299 GE Refrigerator Air Duct Cap Mullion432GEN WR02X8654434GEN WR02X9431435RANGE ONLY 40W 120V APPL BULB435WR2X9391 GE Socket and Terminal436GEN WR02X8909442GEN WR02X9432447GEN WR02X8523448GEN WR13X0646450GEN WR02X4194451WR13X10020 GE Refrigerator Door Hinge Assembly with Cam453GEN WR40X1744454GEN WR40X1745455GEN WR40X1746457GEN WR40X1748458GEN WR40X1750458GEN WR02X9376458GEN WR02X10334460GEN WR02X8911461GEN WZ06X0136461GEN WR02X8910462GEN WR14X0442463GEN WR82X0338470GEN WR14X0465470GEN WR01X1929552WR01X10600 GE Refrigerator Screw 12-24 Tapping Hex .811 S Z560GEN WR01X2140578WZ2X464D GE Screw609WR23X37285 GE Light Switch789GEN WR17X10132790MWFP GE Replacement Water Filter Pureline for Refrigerator791GEN WR02X10173792GEN WR17X10237810WR17X4358 GE Refrigerator Water Tank812WR17X2891 GE Refrigerator 5/16" X 6FT Plastic Water Line Tubing