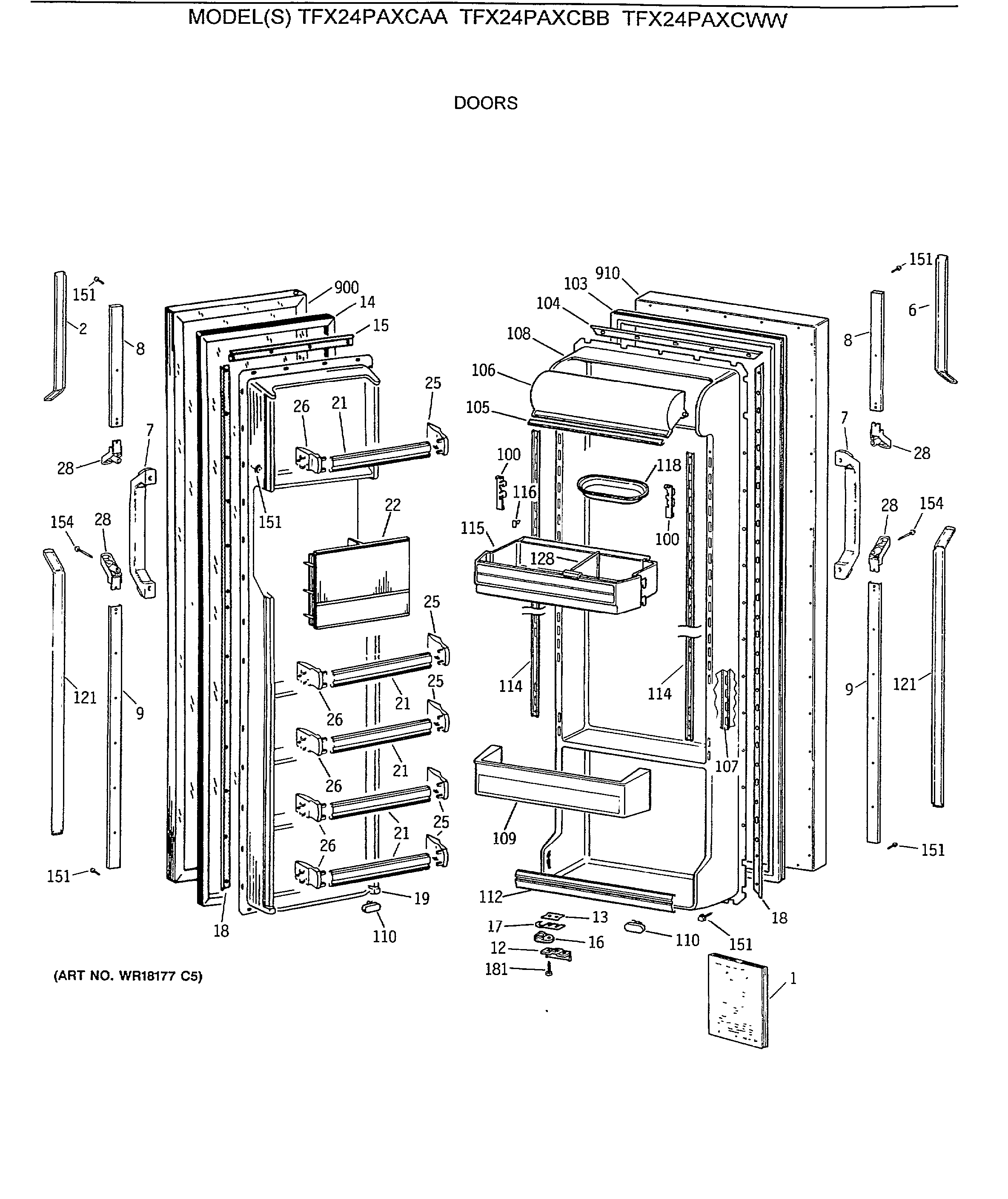
TFX24PAXCBB DOORS