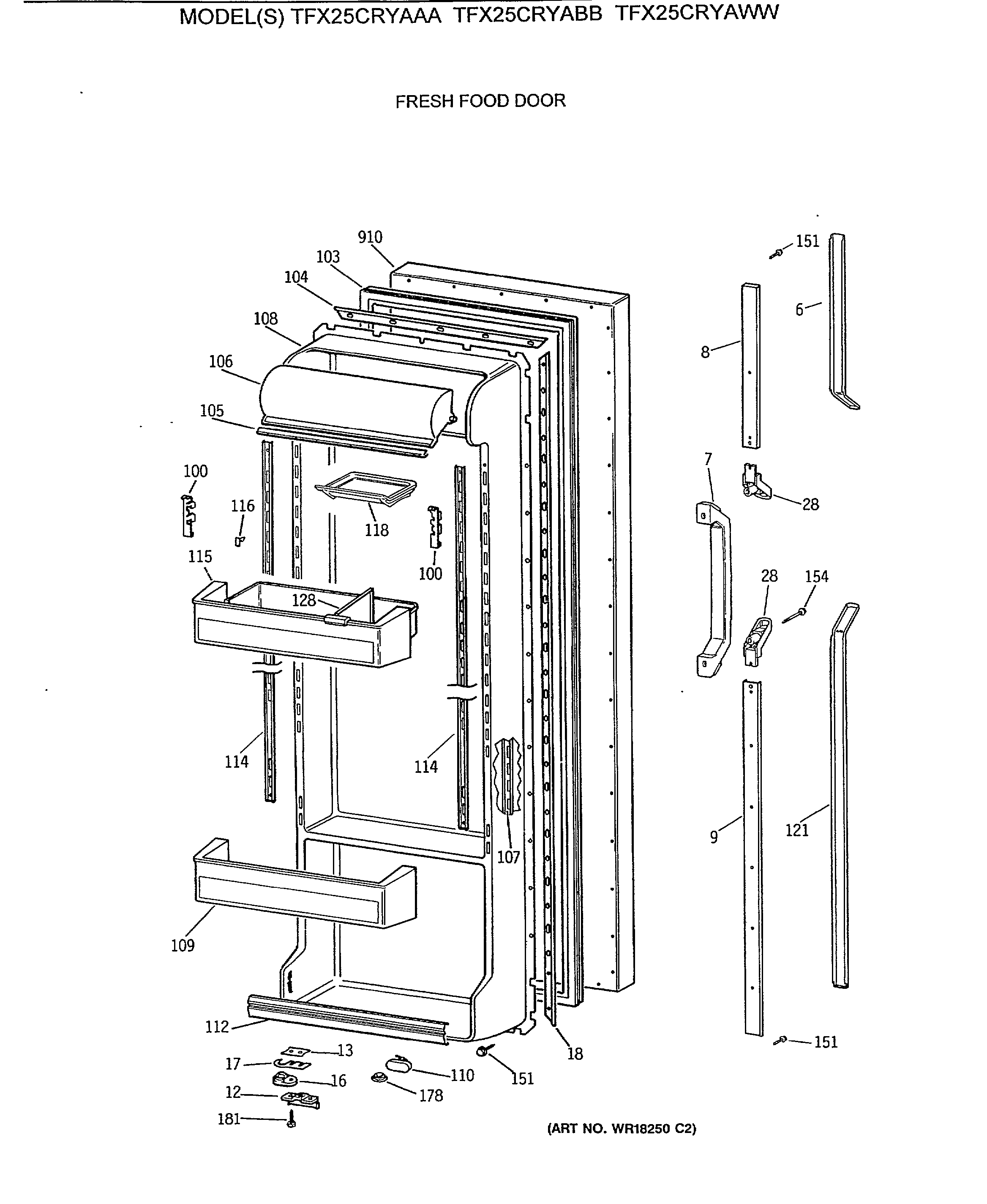
TFX25CRYAAA FRESH FOOD DOORadmin2025-04-26T10:47:40+00:00TFX25CRYAAA FRESH FOOD DOOR ProductsPositionProduct6GEN WR12X08547GEN WR12X08708GEN WR12X10629CHANNEL HANDLE12GEN WR02X930213SHIM CAM DOOR STOP13GEN WR02X459916WR02X10140 GE Refrigerator Hinge Cam Riser17GEN WR02X914717GEN WR02X749118GEN WR17X209228GEN WR02X8576100GEN WR02X8409100GEN WR02X8410103GEN WR24X0526104GEN WR17X1168105GEN WR38X2147106GEN WR22X0383107GEN WR72X0256108WR1X1718 GE Screw108GEN WR77X0681109GEN WR71X2597110GEN WR02X8989112GEN WR17X3949114GEN WR72X0257115GEN WR71X2598116GEN WR02X7829118GEN WR19X5003121GEN WR12X0851128GEN WR02X7971151WR01X10623 GE Refrigerator Screw 8-18 AB IHXW 9/16 S154GEN WR01X2127154GEN WR01X2085178GEN WR02X6058181GEN WZ06X0105910GEN WR78X8593