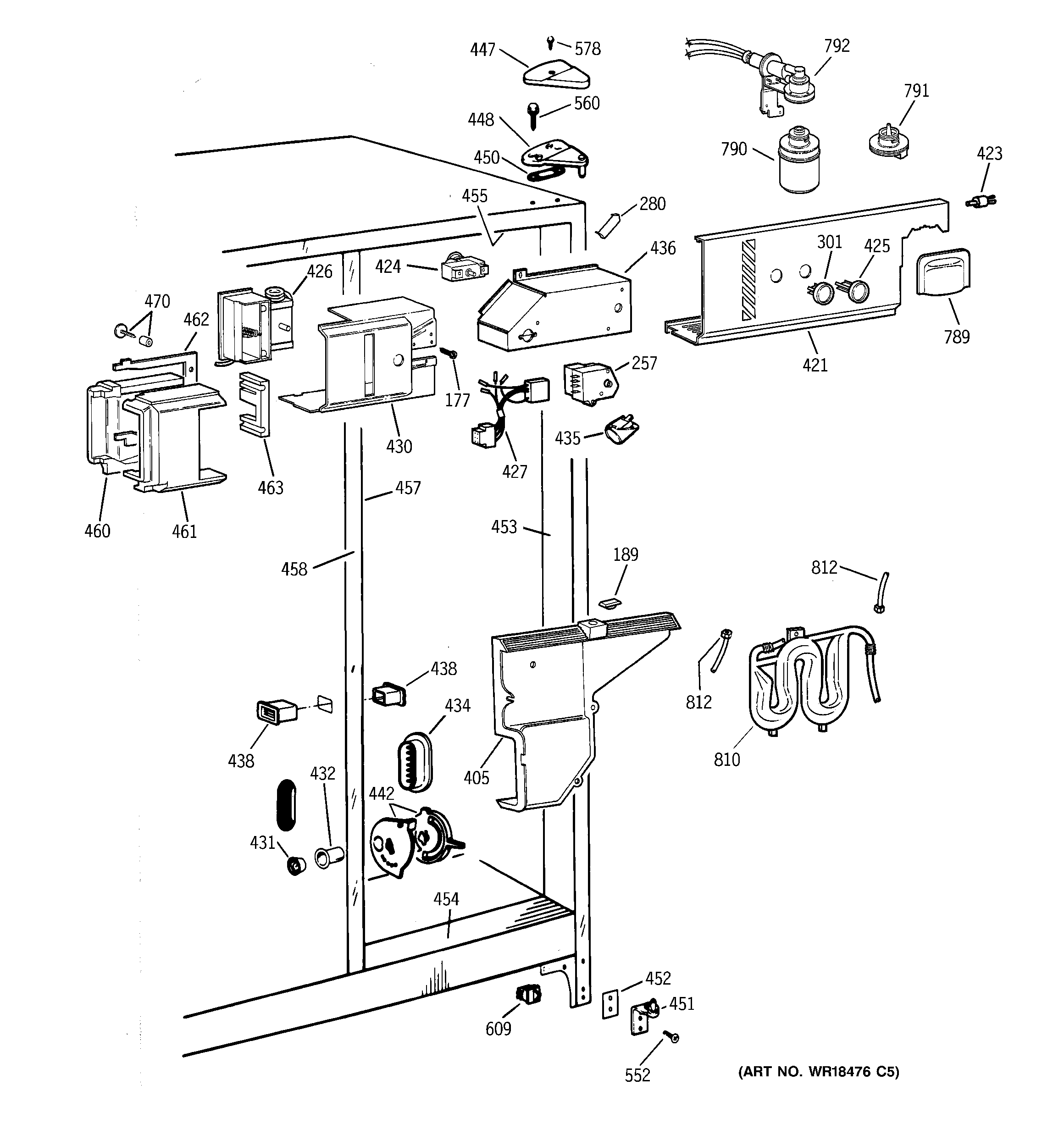
TFX25VPAAAA FRESH FOOD SECTIONadmin2025-04-26T10:46:28+00:00TFX25VPAAAA FRESH FOOD SECTION ProductsPositionProduct177SCREW189GEN WR01X2115216GEN WR32X1575257DEFROST TIMER280GEN WR02X8519301GEN WR02X9215400GEN WR71X2623403WR72X254 GE Refrigerator Side Track Assembly405GEN WR17X3890407WR32X1492 GE Refrigerator Vegetable Pan408GEN WR32X1493409GEN WR32X1500410GEN WR17X3950411GEN WR17X3951414GEN WR14X0431415GEN WR32X1473417GEN WR14X10006421GEN WR17X10136423GEN WR02X6347423GEN WR02X10050424GEN WR02X8914424GEN WR09X0599425GEN WR02X9216426GEN WR09X0567427GEN WR23X0489430GEN WR17X3416431WR2X9299 GE Refrigerator Air Duct Cap Mullion432GEN WR02X8654434GEN WR02X9431435RANGE ONLY 40W 120V APPL BULB435WR2X9391 GE Socket and Terminal436GEN WR02X8909438GEN WR02X8655438GEN WR02X7476442GEN WR17X10060447GEN WR02X8844447GEN WR02X8843448GEN WR13X0659450GEN WR02X4194451WR13X10020 GE Refrigerator Door Hinge Assembly with Cam452GEN WR02X9443453GEN WR40X1734454GEN WR40X1735455GEN WR40X1736457GEN WR40X1737458GEN WR40X1740458GEN WR02X7033458GEN WR02X4739458GEN WR02X9376460GEN WR02X8911461GEN WR02X8910461GEN WZ06X0136462GEN WR14X0442463GEN WR82X0338470GEN WR01X1929471GEN WR32X1339472GEN WR38X2148473GEN WR72X0210473GEN WR72X0211473WR1X2048 GE Refrigerator Slide Bearing479WR72X239 GE Refrigerator Left Hand Slide Assembly479WR72X240 GE Slide Assembly Right Hand480GEN WR72X0253480WR72X252 GE Refrigerator Slide Assembly Left Hand481GEN WR01X2079551GEN WZ04X0244552WR01X10600 GE Refrigerator Screw 12-24 Tapping Hex .811 S Z554WR01X10601 GE Refrigerator Screw 10-24 TT IHXW560GEN WR01X2140578WZ2X464D GE Screw609WR23X37285 GE Light Switch789GEN WR17X10132790MWFP GE Replacement Water Filter Pureline for Refrigerator791GEN WR02X10049792GEN WR17X10224810WR17X4358 GE Refrigerator Water Tank812WR17X2891 GE Refrigerator 5/16" X 6FT Plastic Water Line Tubing