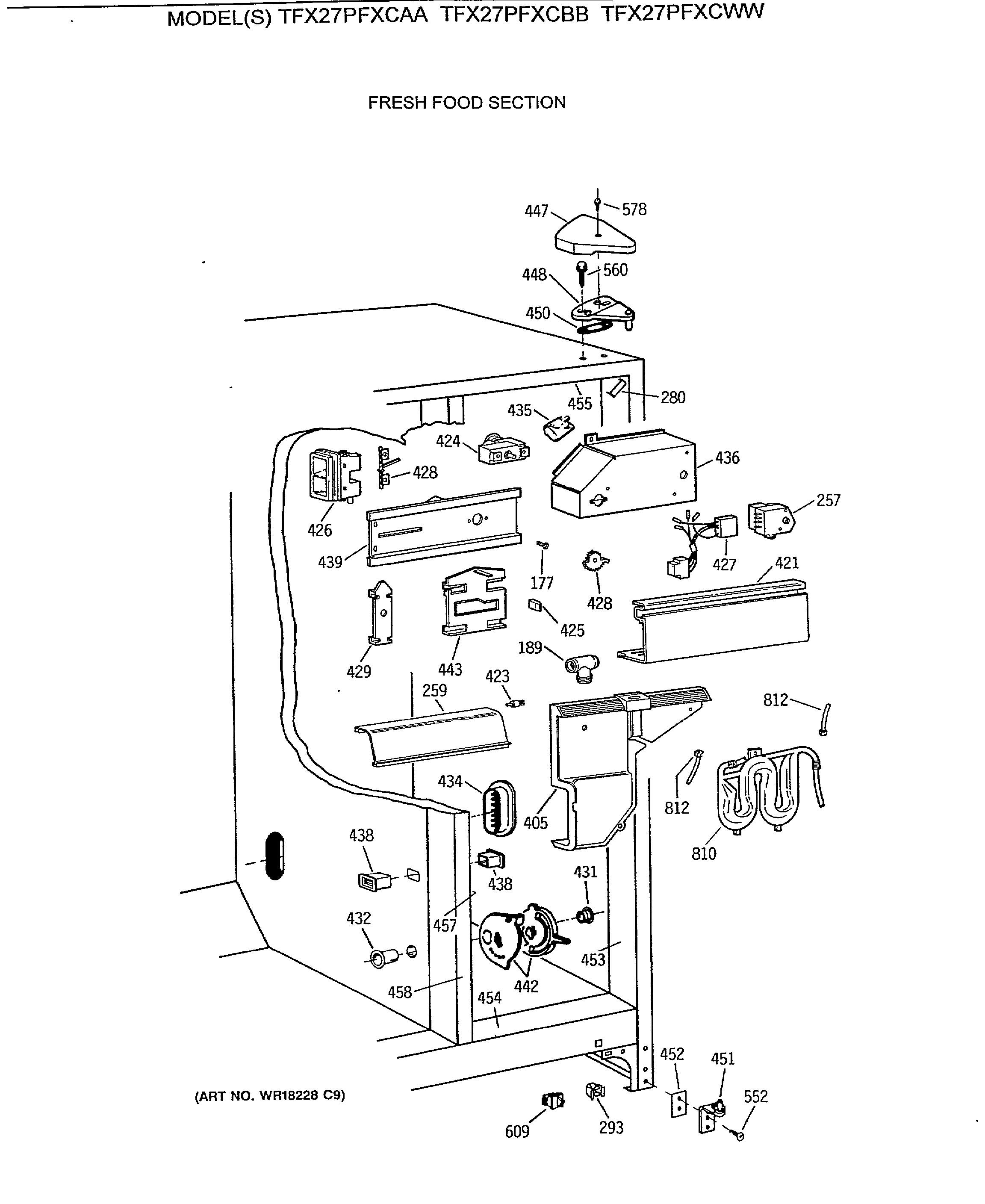
TFX27PFXCAA FRESH FOOD SECTION