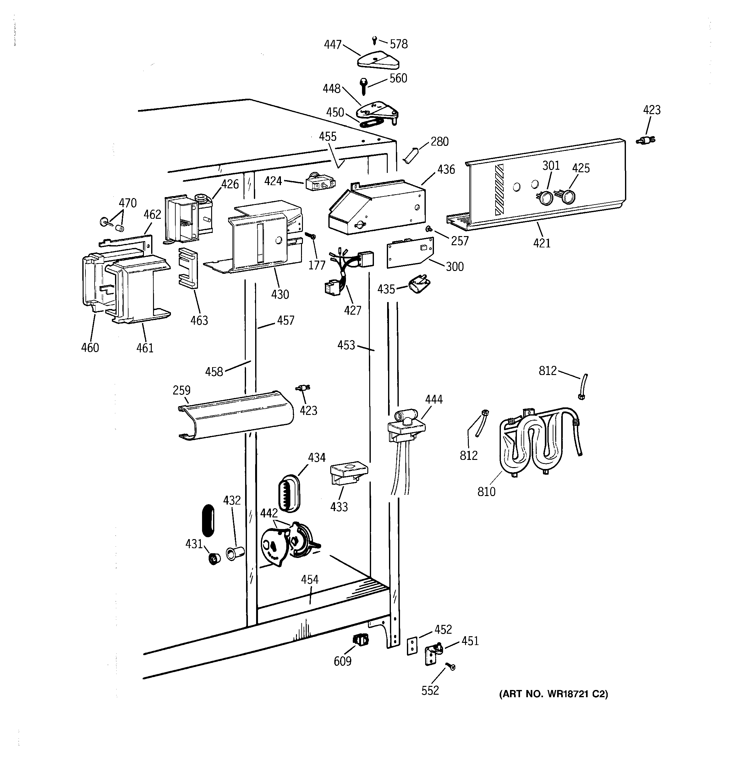
TFZ22PRDABB FRESH FOOD SECTION