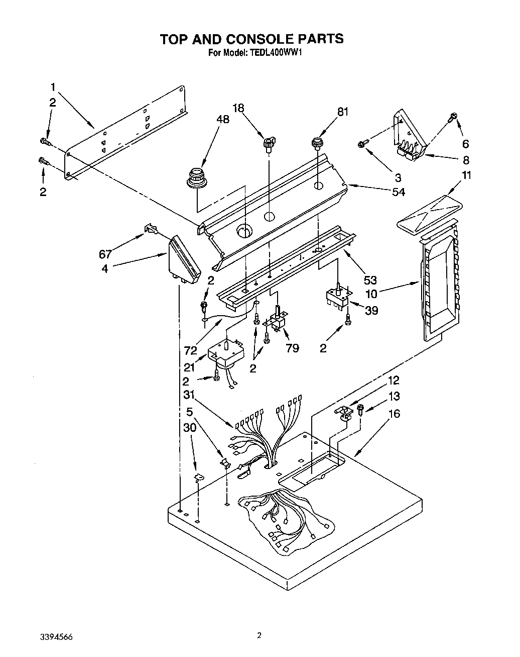
TGDL400WW1 02 – SECTION