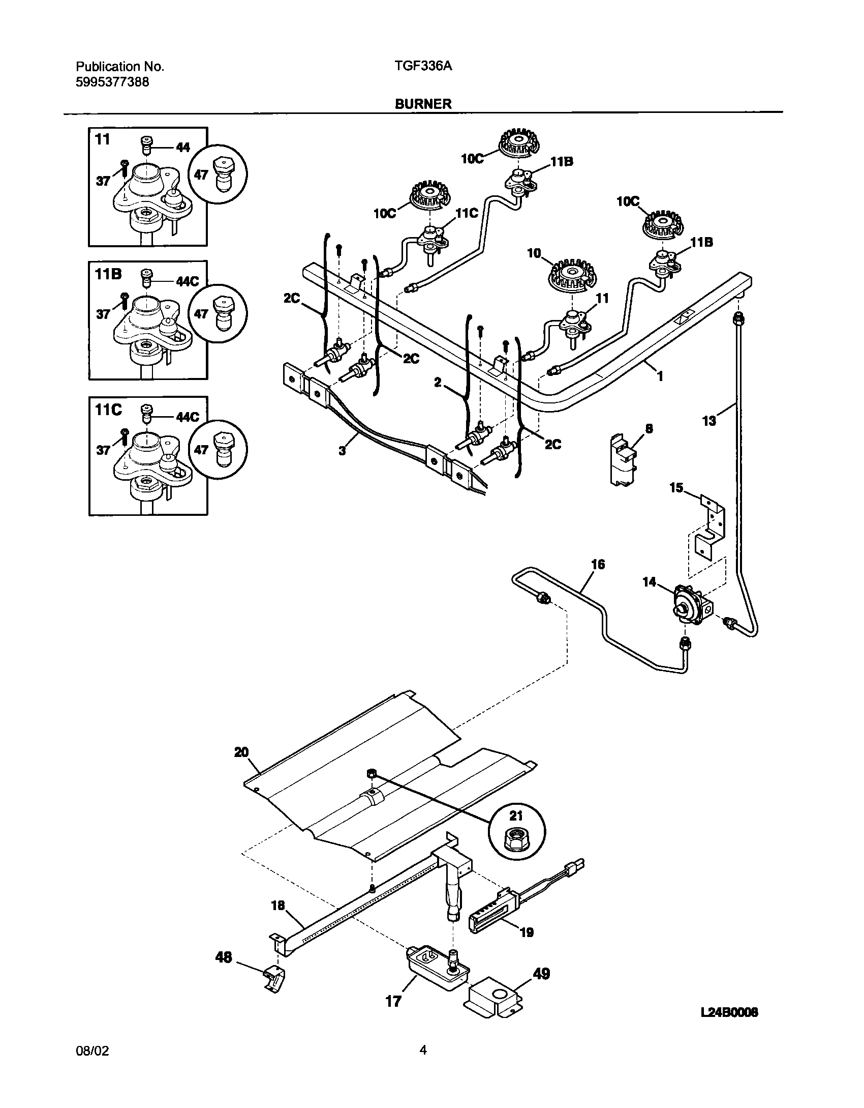
TGF336ASC 05 – BURNER