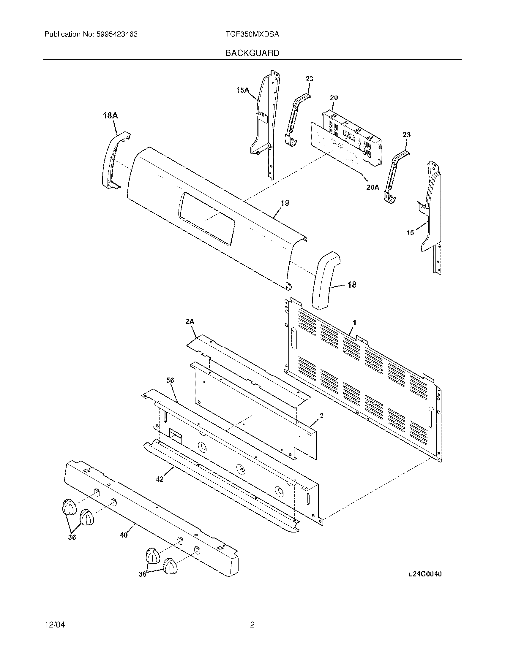
TGF350MXDSA 03 – BACKGUARDadmin2025-04-26T11:59:16+00:00TGF350MXDSA 03 – BACKGUARD ProductsPositionProductNI316021105 Frigidaire Oven ScrewNI316021109 Frigidaire Oven ScrewNIScrew,cup pt ,8-18 x 0.375 ,chrome1WCI 3162399002AWCI 3162351002WCI 31605160015AWCI 31622021515WCI 31622021418AWCI 31624090118WCI 31624090019WCI 31624447520A316419134 Frigidaire Oven Overlay20WCI 31641820523WCI 31624590036316220000 Frigidaire Oven Range Cook Top Burner Valve Knob - White40WCI 31620492342WCI 31627730156316230708 Frigidaire Oven Shield