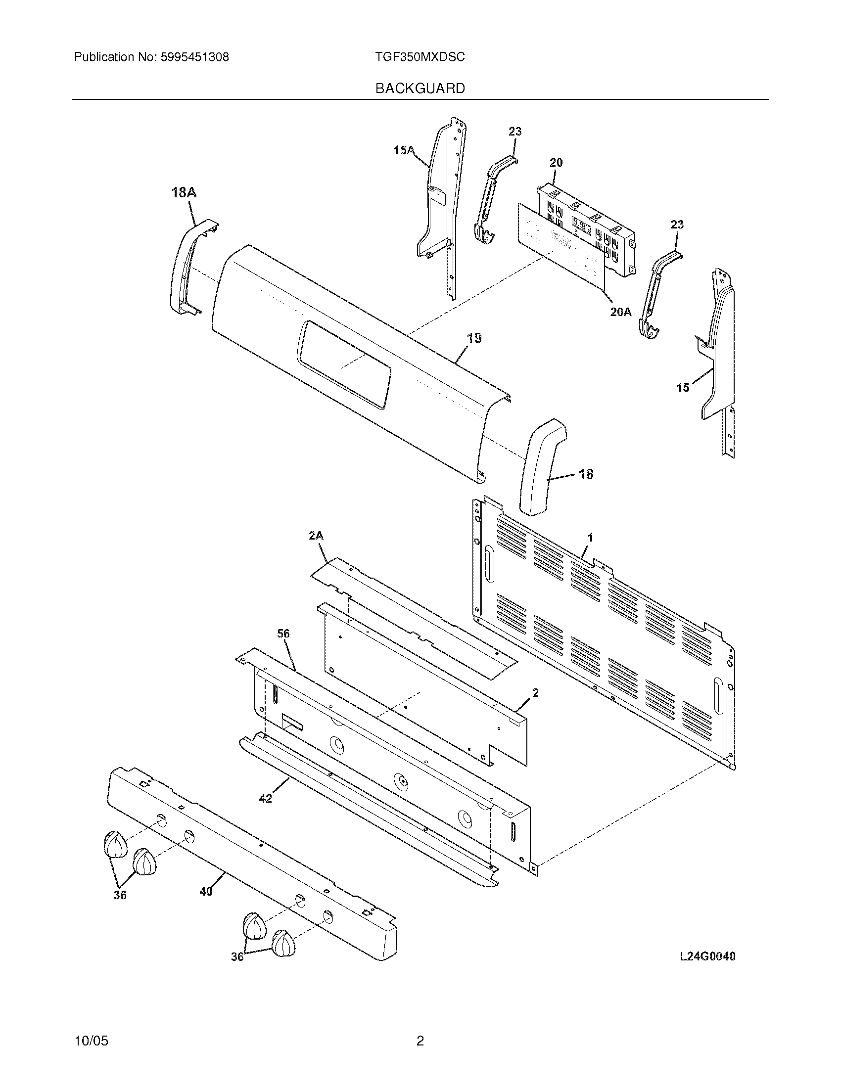
TGF350MXDSC 03 – BACKGUARD