TGF357BCDA 05 – TOP/DRAWERadmin2025-04-26T08:59:56+00:00TGF357BCDA 05 – TOP/DRAWER
Products
| Position | Product |
|---|
| *39685 | RIVET-POP, WARING-PLATE |
| *39686 | WCI 5303281584 |
| *39688 | WCI 5303288574 |
| *39687 | 131243700 Frigidaire Screw |
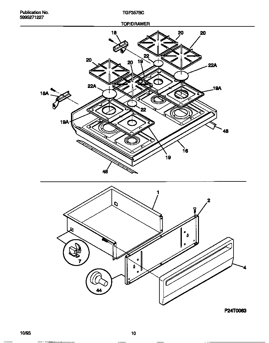
| 1 | DRAWER-UTILITY |
| 2 | SHIELD-PNL |
| 4 | WCI 316084406 |
| 4 | SCREW, HEX WASHER HEAD, 8-18(AB) X 1/2 (NOT ILLUSTRATED) |
| 7 | 3051163 Frigidaire Oven Range Rear Broiler Drawer Glide |
| 16 | WCI 5303307710 |
| 16B | GUSSET-MTG (LH) (NON-ILLUSTRATED) |
| 16A | GUSSET-MTG (RH) (NON-ILLUSTRATED) |
| 18 | HINGE-MAIN TOP (RH) |
| 18 | HINGE-MAIN TOP (LH) |
| 19 | WCI 316011415 |
| 19 | Pan-burner,large ,black |
| 20 | WCI 316085201 |
| 22 | CAP-BURNER, MATTE BLACK, SMALL, (2) |
| 22 | CAP-BURNER, MATTE BLACK, LARGE, (2) |
| 44 | 3131903 Frigidaire Door/Drawer Bumper |
| 48 | WCI 316077501 |