TGF357BCWE 05 – TOP/DRAWERadmin2025-04-26T08:59:16+00:00TGF357BCWE 05 – TOP/DRAWER
Products
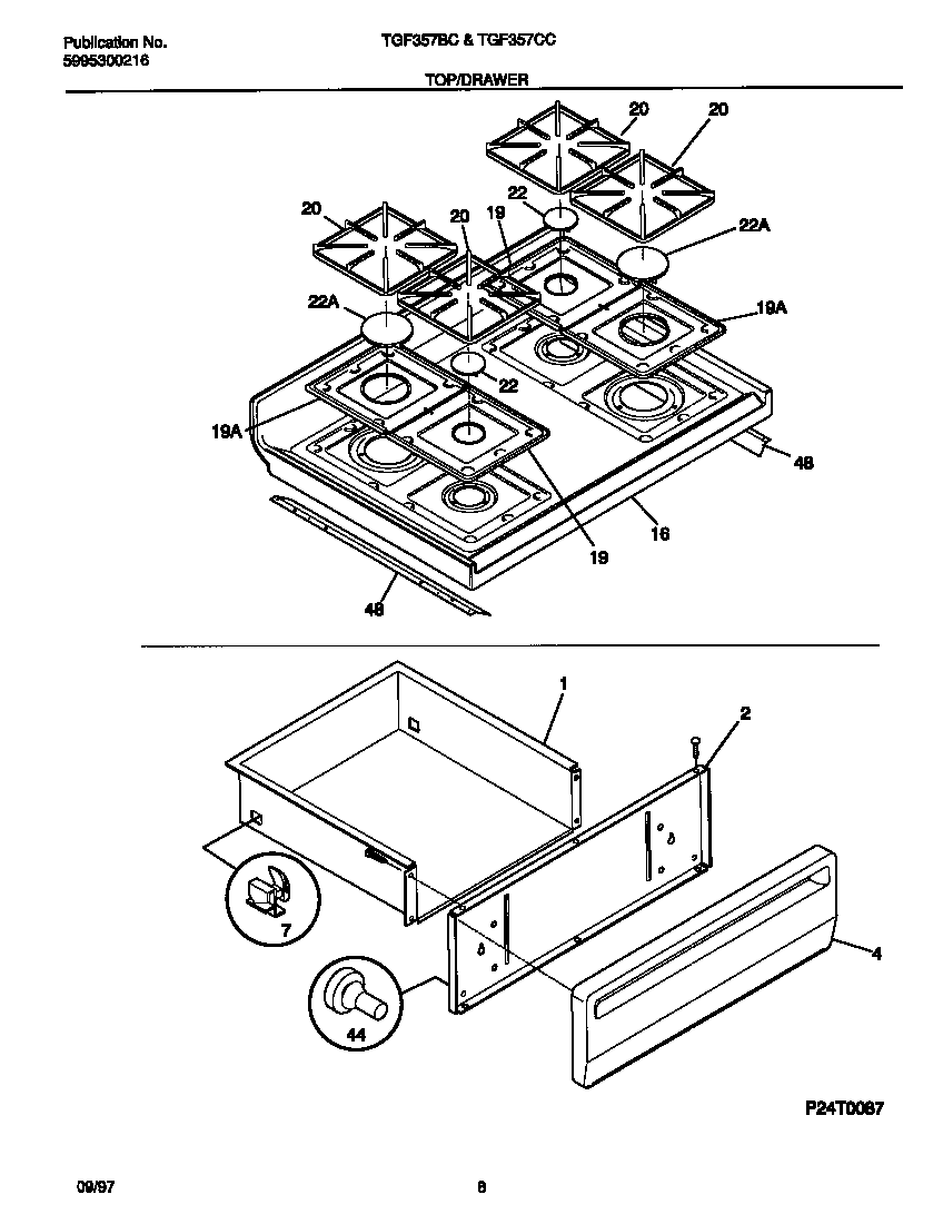
| Position | Product |
|---|
| *67328 | RIVET-POP, WARING-PLATE |
| *67331 | WCI 316089600 |
| *67333 | 131243700 Frigidaire Screw |
| *67329 | Screw,cup pt ,8-18 x 0.375 ,chrome |
| *67334 | WCI 5303288574 |
| *67330 | Clip,wiring harness ,green ,main top |
| *67332 | WCI 5303280311 |
| 1 | DRAWER-UTILITY |
| 2 | SHIELD-PNL |
| 4 | 316021109 Frigidaire Oven Screw |
| 4 | WCI 316084405 |
| 7 | 3051163 Frigidaire Oven Range Rear Broiler Drawer Glide |
| 16 | WCI 5303307709 |
| 19 | Pan-burner,large ,black |
| 19 | WCI 316011415 |
| 20 | WCI 316085201 |
| 22 | CAP-BURNER, MATTE BLACK, SMALL, (2) |
| 22 | CAP-BURNER, MATTE BLACK, LARGE, (2) |
| 44 | 3131903 Frigidaire Door/Drawer Bumper |
| 48 | Shield,deflector ,main top panel ,(2) |