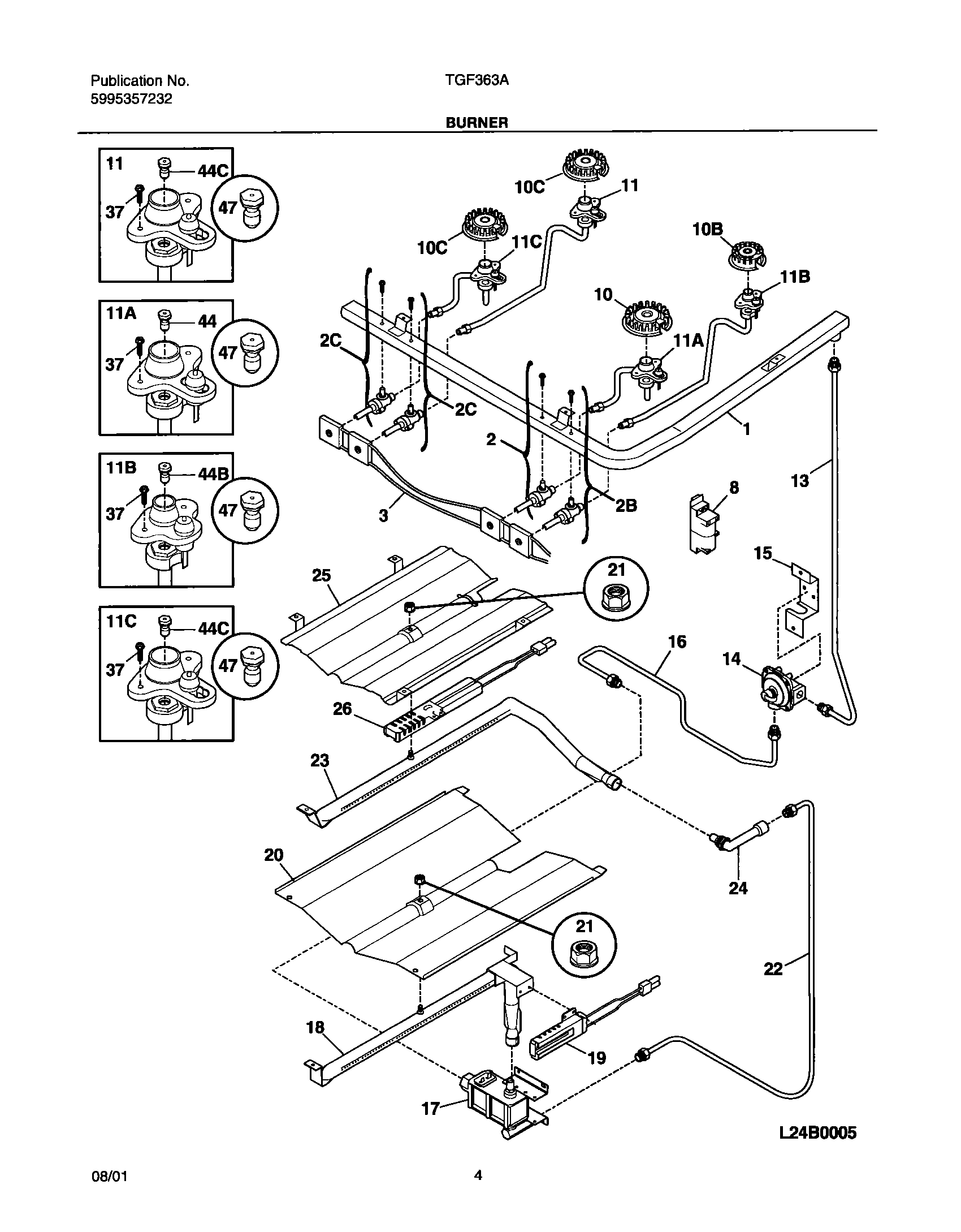
TGF363AUA 05 – BURNER