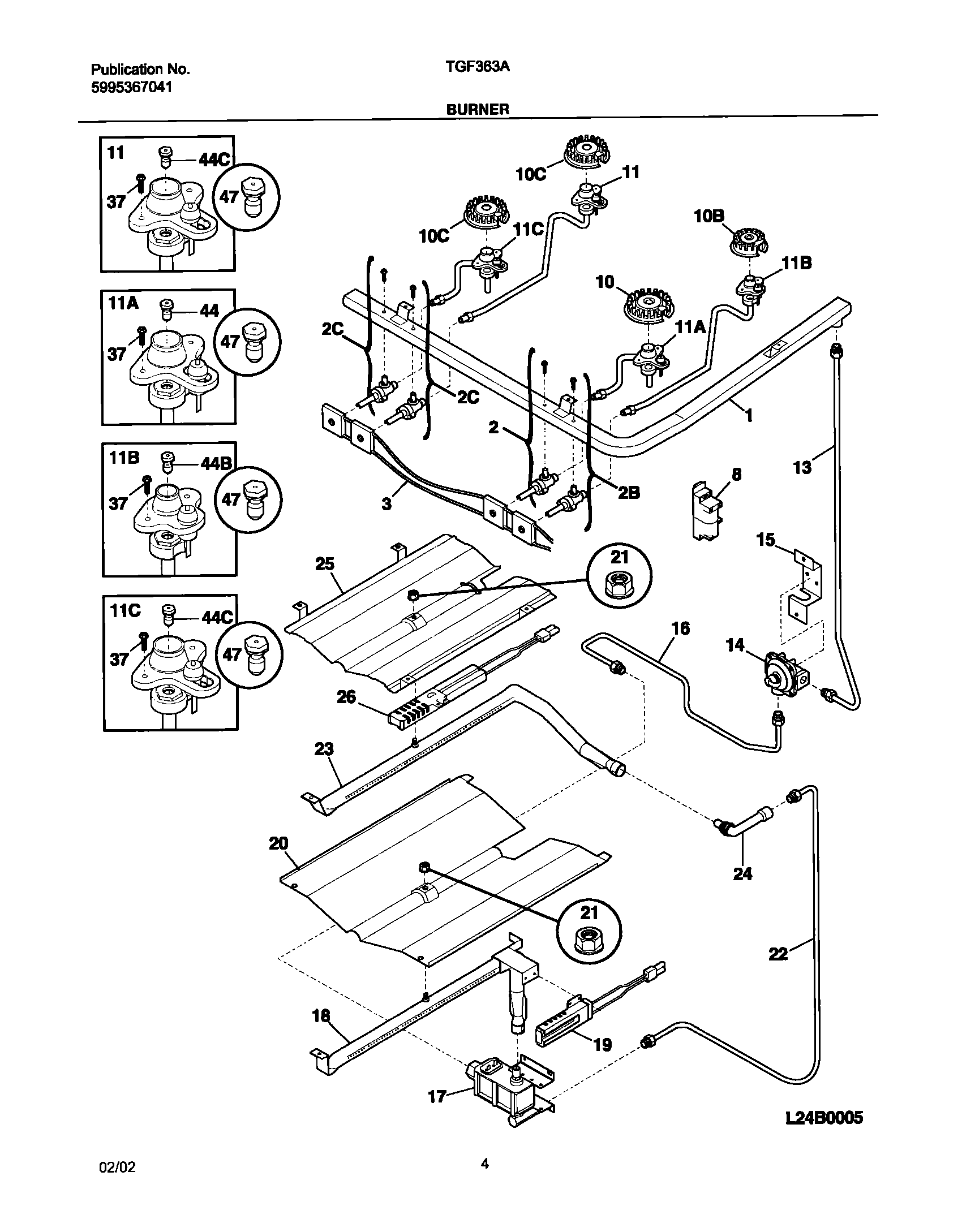
TGF363AUB 05 – BURNER