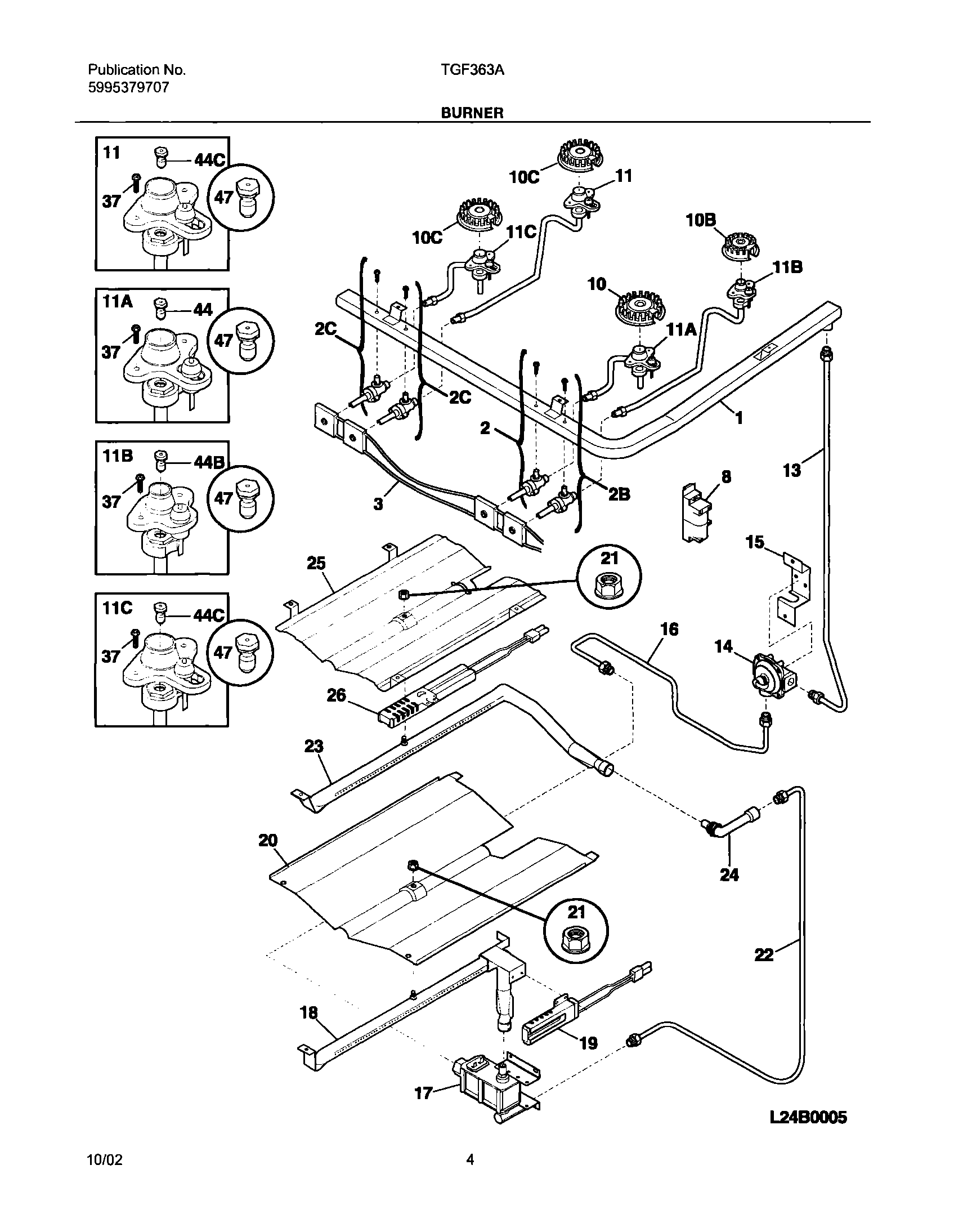
TGF363AWC 05 – BURNER