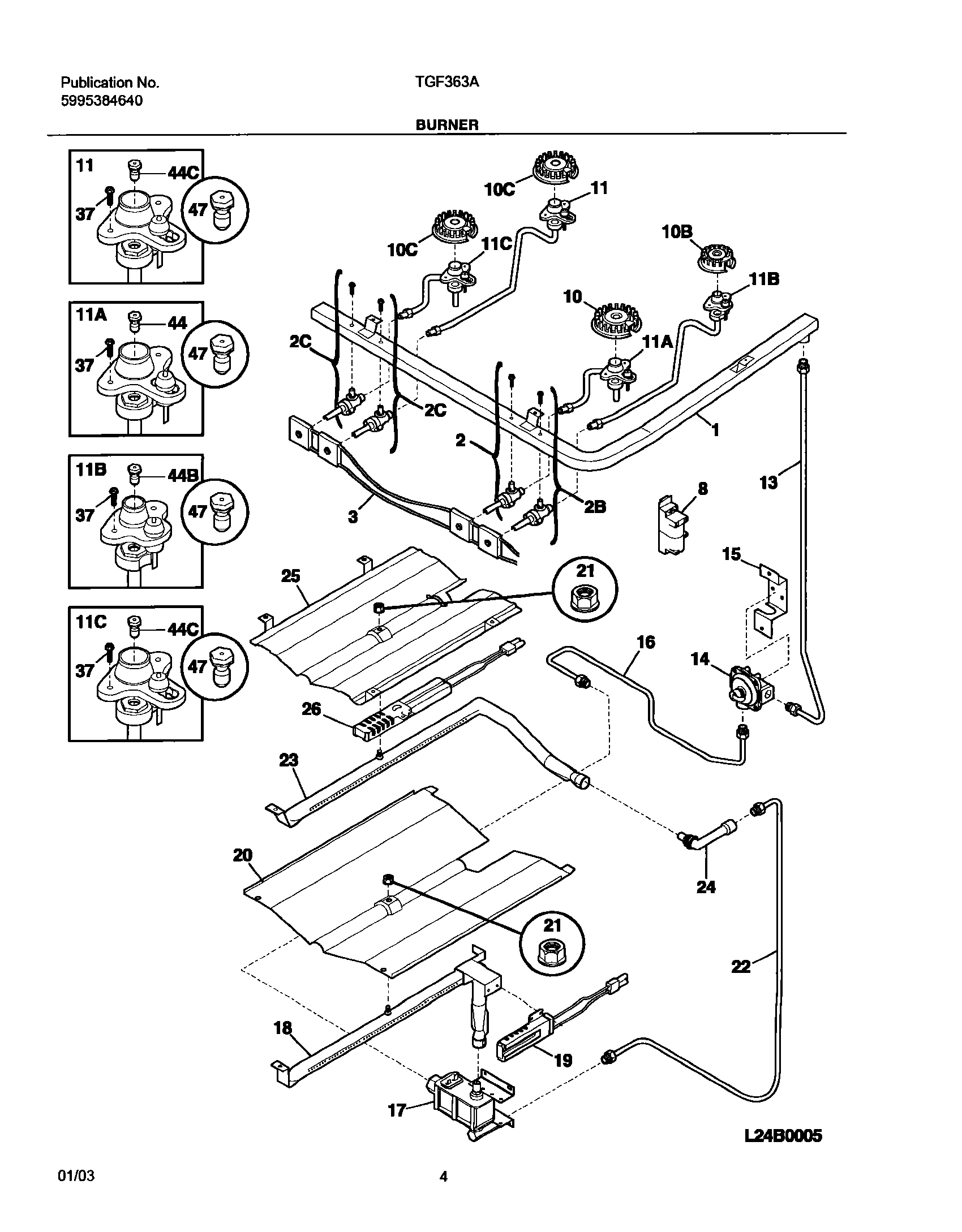
TGF363AWD 05 – BURNER