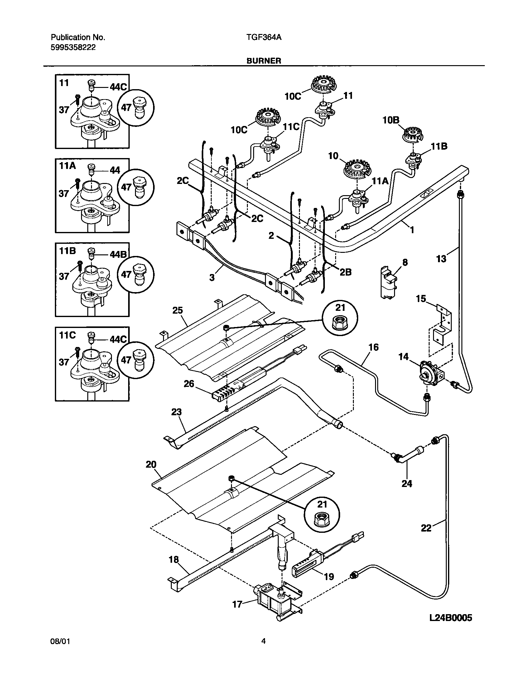
TGF364AQA 05 – BURNER