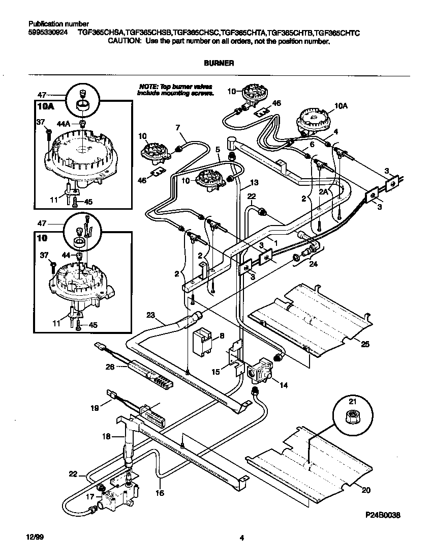
TGF365CHTA 03 – BURNER