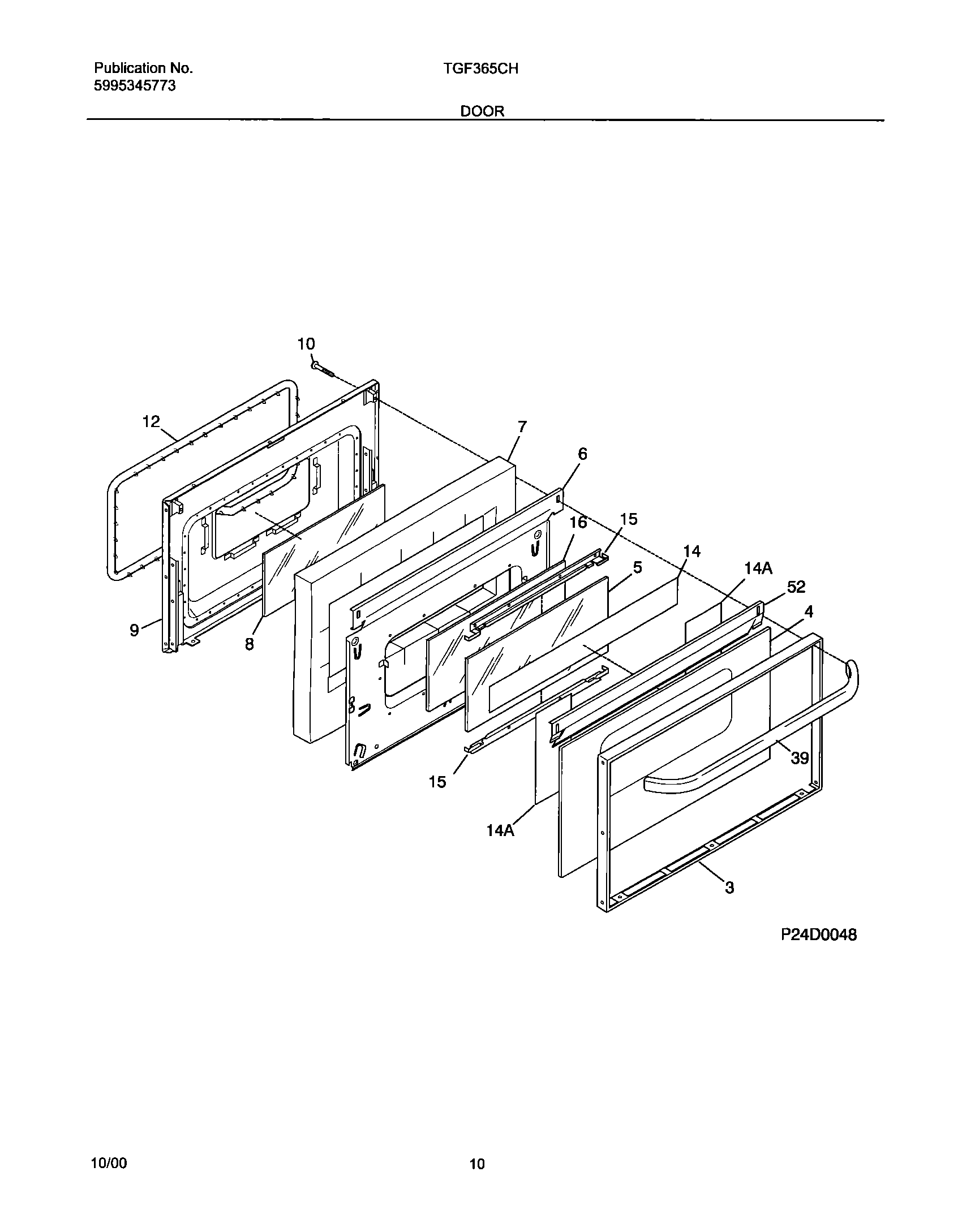
TGF365CHTF 11 – DOOR