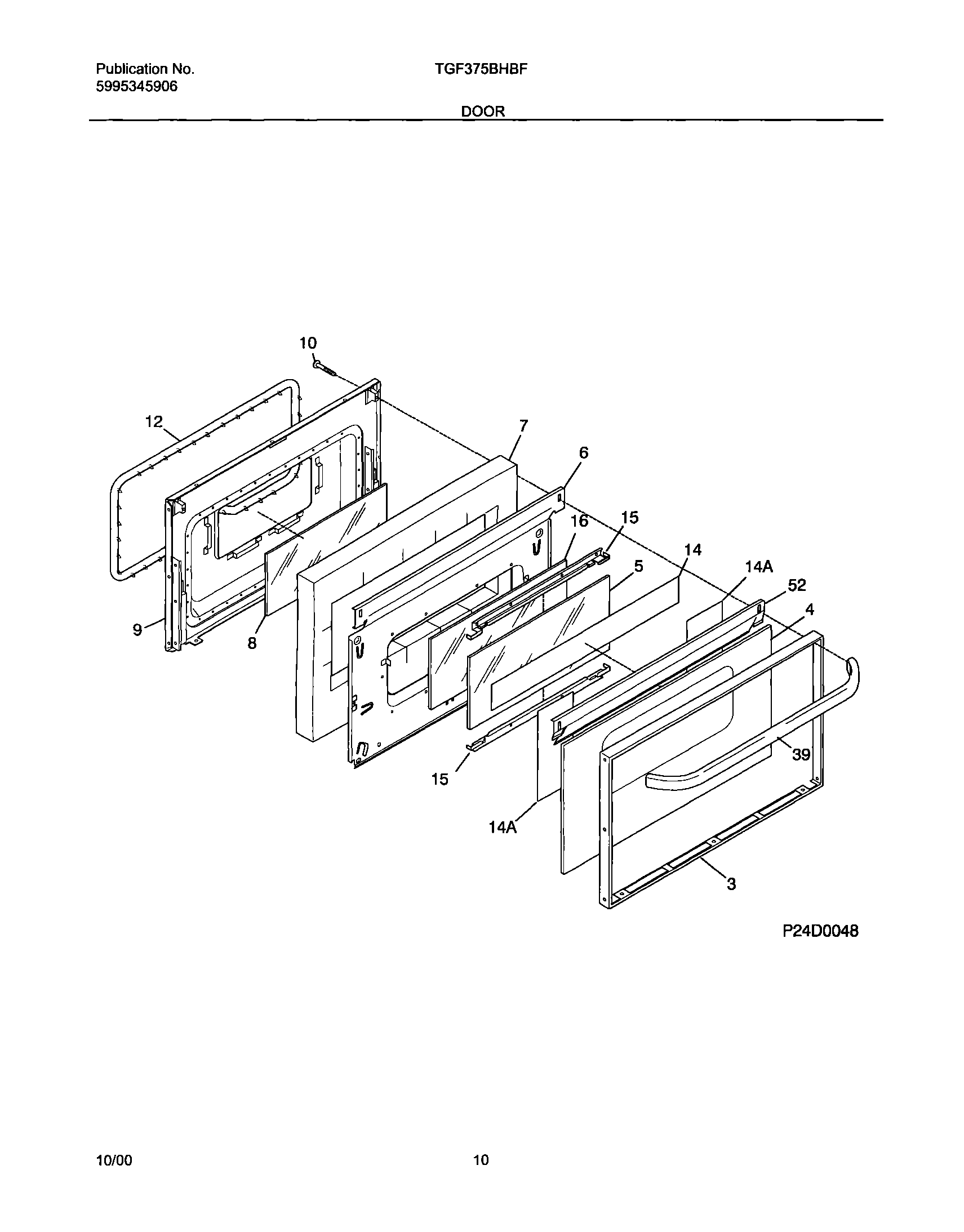
TGF375BHBF 11 – DOOR