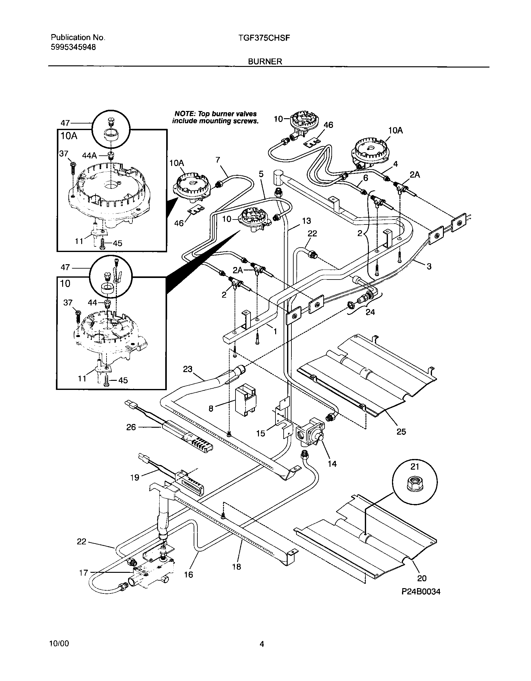
TGF375CHSF 05 – BURNER