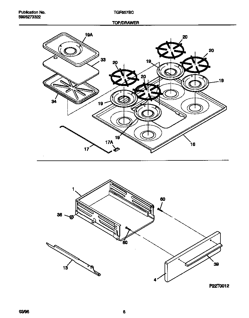
TGF657BCBA 05 – TOP/DRAWERadmin2025-04-26T09:00:41+00:00TGF657BCBA 05 – TOP/DRAWER ProductsPositionProduct*35569SCREW-SHOULDER*35570SCREW, MAIN TOP (NOT ILLUSTRATED)1WCI 53033115354WCI 530331153613BTRACK ASSY-LH13ATRACK ASSY-RH16MAIN TOP, BLACK17BRACKET-ROD, MAIN TOP17ROD-TOP SUPPORT19WCI 530801143119PAN-GRIDDLE20WCI 530327227433COVER-GRIDDLE, CHROME34WCI 31810260036WCI 530330845739WCI 1081960A5303310510 Frigidaire Oven Screw60B5303013272 Frigidaire Oven Nut