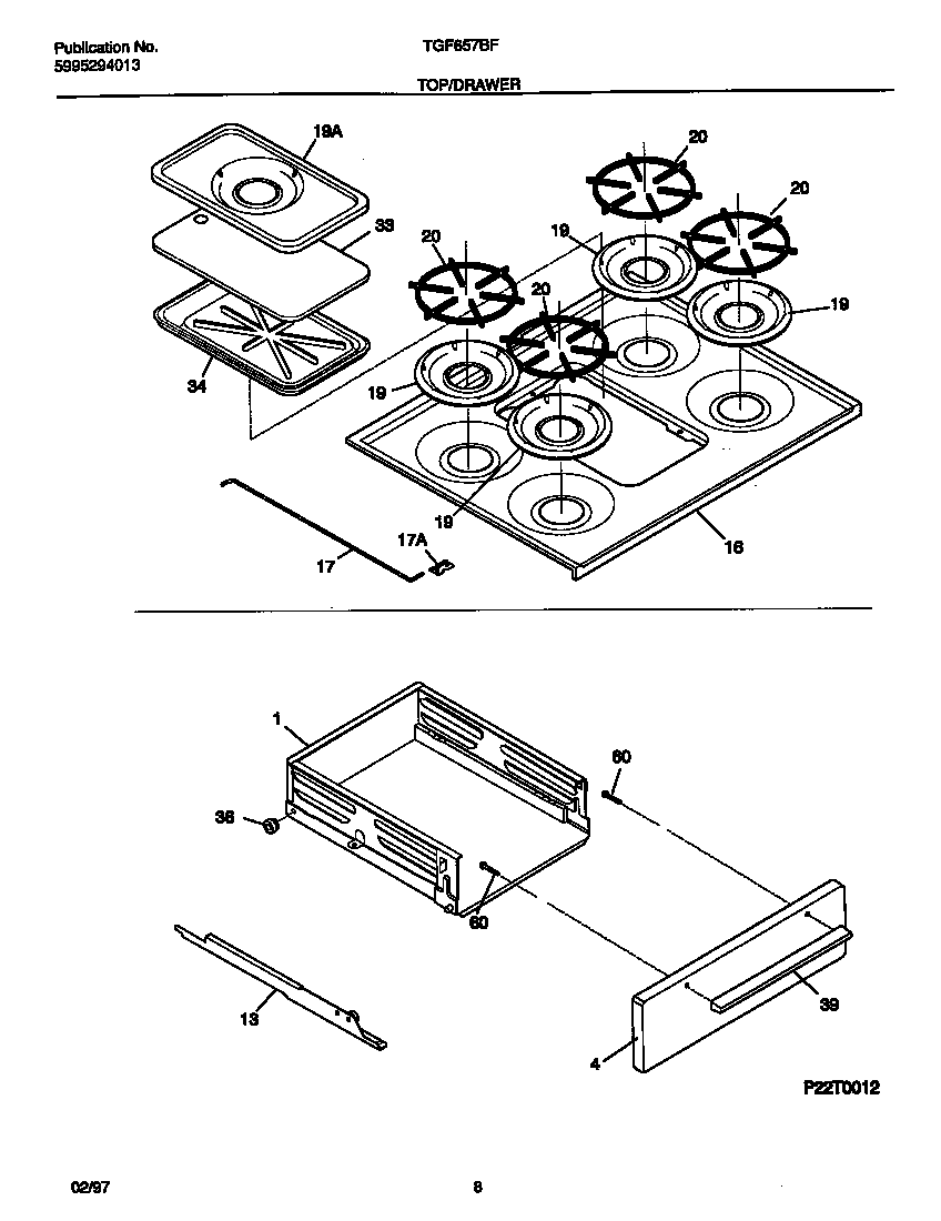
TGF657BFW1 05 – TOP/DRAWERadmin2025-04-26T09:01:33+00:00TGF657BFW1 05 – TOP/DRAWER ProductsPositionProduct*24858RIVET-POP, WARING-PLATE*24859SCREW, 10 X 3/8*24857SCREW-SHOULDER1WCI 53033115354WCI 530331153613ATRACK ASSY-LH13BTRACK ASSY-RH16WCI 530801403417BRACKET-ROD, MAIN TOP17ROD-TOP SUPPORT19WCI 530801143119WCI 31806740020WCI 530327227433COVER-GRIDDLE, WHITE34WCI 31810260036WCI 530393507939WCI 10819605303310510 Frigidaire Oven Screw625303013272 Frigidaire Oven Nut