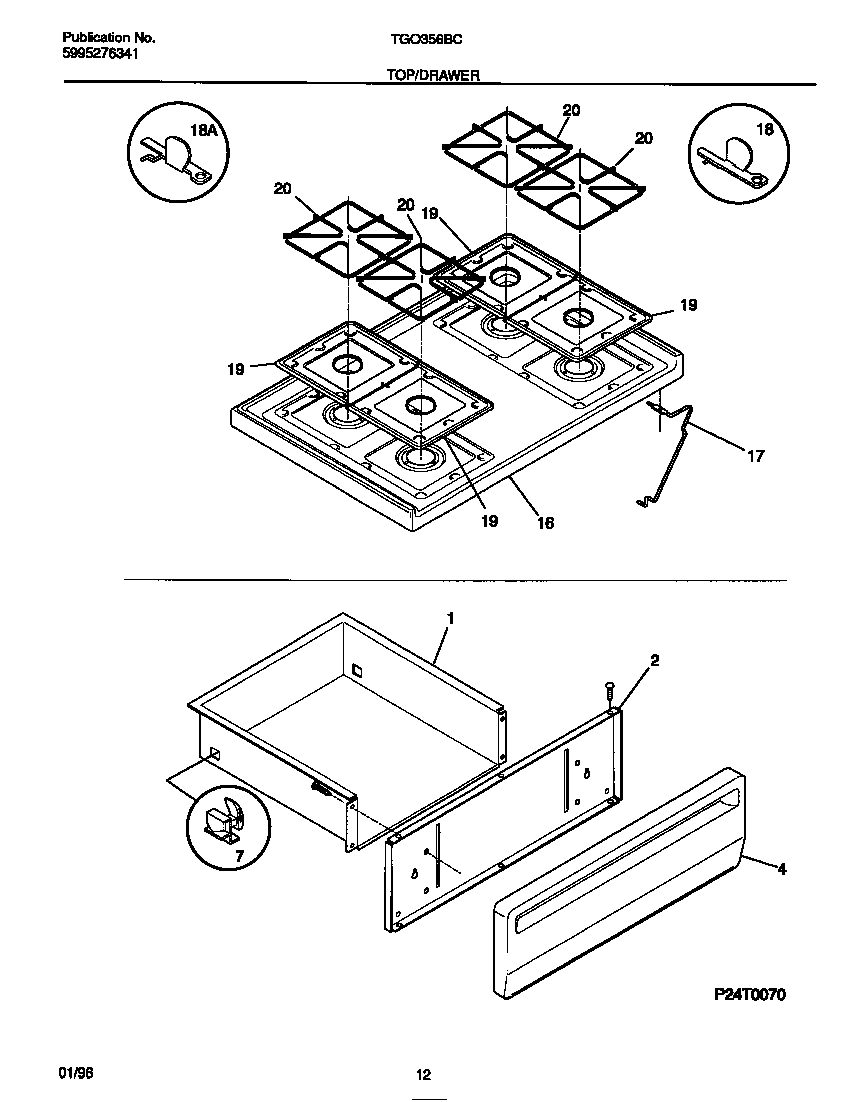
TGO356BCDB 07 – TOP/DRAWER