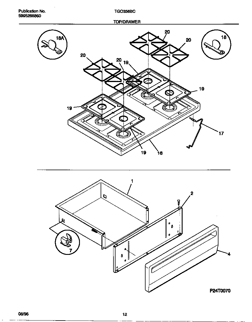
TGO356BCWC 07 – TOP/DRAWERadmin2025-04-26T09:02:11+00:00TGO356BCWC 07 – TOP/DRAWER ProductsPositionProduct*383843131903 Frigidaire Door/Drawer Bumper1DRAWER-UTILITY2SHIELD-PNL4WCI 3160844054316021109 Frigidaire Oven Screw4SCREW, HEX WASHER HEAD, 8-18(AB) X 1/2 (NOT ILLUSTRATED)73051163 Frigidaire Oven Range Rear Broiler Drawer Glide16WCI 313135117WCI 31606690018BRACKET-HINGE,MAIN TOP LH18BRACKET-HINGE,MAIN TOP RH19WCI 31602120320WCI 316085201