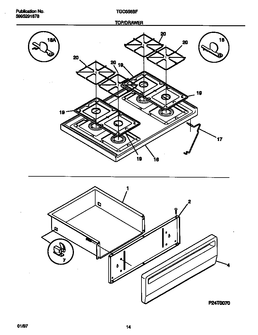
TGO356BFDA 08 – TOP/DRAWERadmin2025-04-26T09:01:15+00:00TGO356BFDA 08 – TOP/DRAWER ProductsPositionProduct*121835303300265 Frigidaire Oven Screw1DRAWER-UTILITY2SHIELD-PNL4316021109 Frigidaire Oven Screw4SCREW, HEX WASHER HEAD, 8-18(AB) X 1/2 (NOT ILLUSTRATED)4WCI 31608440673051163 Frigidaire Oven Range Rear Broiler Drawer Glide16MAIN TOP, ALMOND17WCI 31606690018BRACKET-HINGE,MAIN TOP RH18BRACKET-HINGE,MAIN TOP LH19WCI 31602120320WCI 316085201443131903 Frigidaire Door/Drawer Bumper