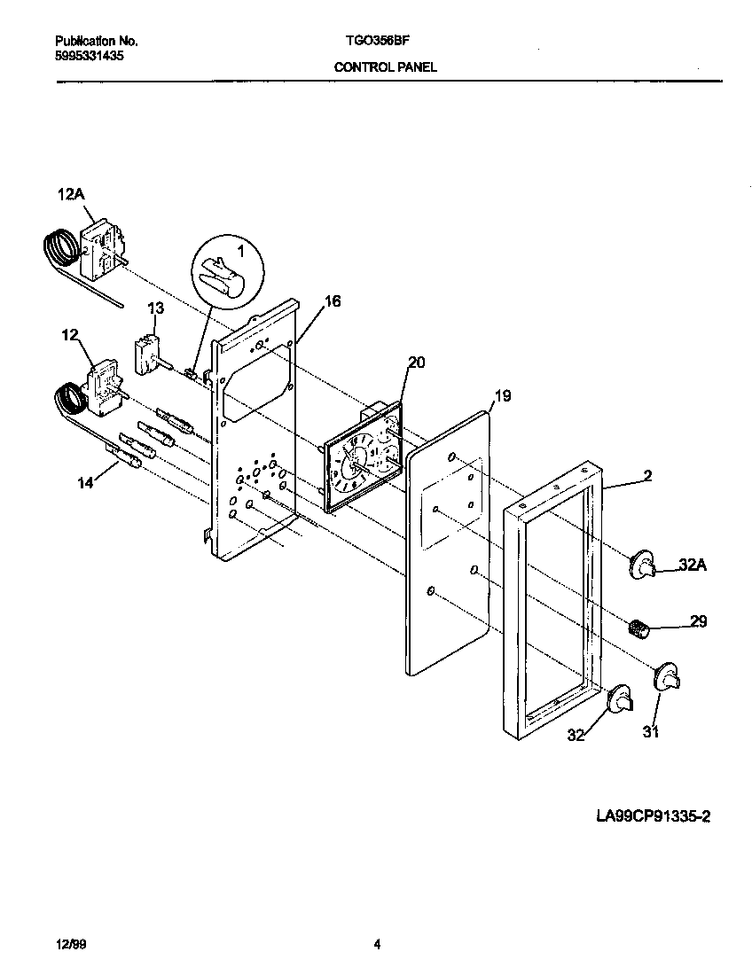
TGO356BFW4 03 – CONTROL PANELadmin2025-04-26T09:00:45+00:00TGO356BFW4 03 – CONTROL PANEL ProductsPositionProduct1FSTNR-CLOCK2TRIM-FRAME12WCI 530327007612WCI 31805920413SWITCH SELECTOR 5 POS14WCI 530803789616WCI 31811670319WCI 31600750420WCI 31600760129WCI 31602900831WCI 31601916732WCI 31601916432WCI 318165301