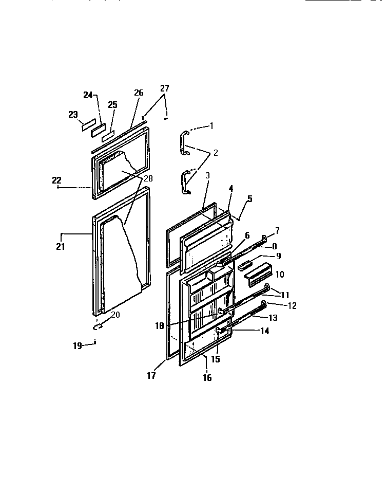
TM1210AN1T 02 – DOOR