| *33136 | WCI G176210 |
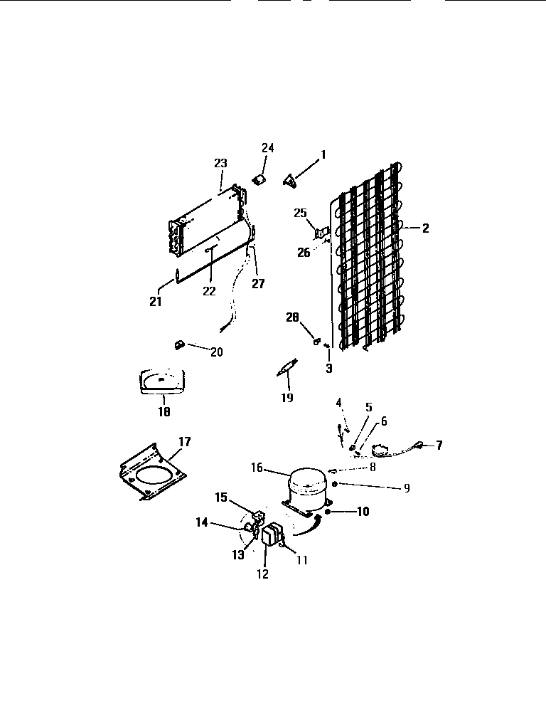
| 1 | BLOCK, EVAPORATOR, RH |
| 2 | WCI G186110 |
| 6 | 5304455651 Frigidaire Refrigerator Screw |
| 7 | CORD, SERVICE |
| 8 | CLIP, COMPRESSOR MOUNTING (4) |
| 9 | WASHER, COMPRESSOR MOUNTING (4) |
| 10 | 218513300 Frigidaire Refrigerator Compressor Mount Grommet |
| 11 | 5303006412 Frigidaire Refrigerator Cover Mounting Strap |
| 13 | CLIP, OVERLOAD |
| 14 | WCI G166052 |
| 15 | RELAY (NON-ILLUSTRATED) |
| 16 | WCI G183738 |
| 17 | PLATE |
| 18 | DEFROST PAN & NUT |
| 19 | 5303305677 Frigidaire Replacement Filter Dryer Filters |
| 20 | BLOCK, EVAPORATOR, LH |
| 21 | 5317842502 Frigidaire Defrost Heater |
| 22 | 5308000110 Frigidaire Refrigerator Evaporator/Heater Primary Strap |
| 23 | EVAPORATOR |
| 24 | 5303917954 Frigidaire Refrigerator Defrost Limit Thermostat Kit |
| 25 | BRACKET-CONDENSER MOUNTING (4) |
| 26 | 5308000039 Frigidaire Refrigerator Screw |
| 27 | HEAT EXCHANGER |
| 28 | 5303001199 Frigidaire Refrigerator Wiring Harness Clamp |