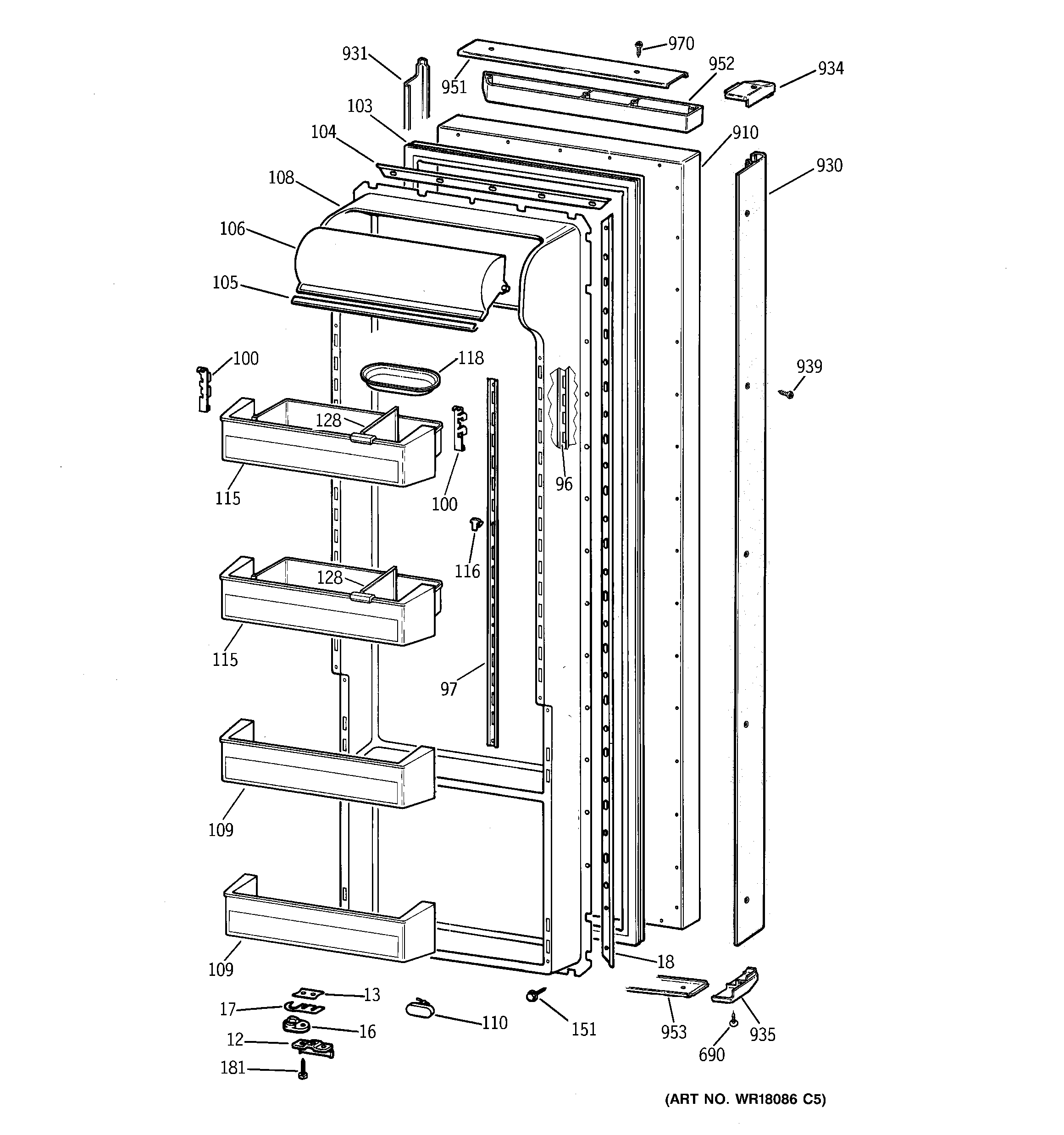
TPG21BRBBBB FRESH FOOD DOORadmin2025-04-26T10:40:20+00:00TPG21BRBBBB FRESH FOOD DOOR ProductsPositionProduct12GEN WR02X721313SHIM CAM DOOR STOP16WR02X10140 GE Refrigerator Hinge Cam Riser18GEN WR17X209296GEN WR72X012197GEN WR72X0236100GEN WR02X8409100GEN WR02X8410103GEN WR24X0532104GEN WR17X1168105GEN WR38X2037106GEN WR22X0383108GEN WR77X0623108WR1X1718 GE Screw109GEN WR71X2637110GEN WR02X8989115GEN WR71X2603116GEN WR02X7829118GEN WR19X0037128GEN WR02X7971151WR01X10623 GE Refrigerator Screw 8-18 AB IHXW 9/16 S181GEN WZ06X0105690SCR 8-18 AB TPR 1 1/8 S910GEN WR78X10228930GEN WR12X0935931GEN WR17X3350931GEN WR17X3351934GEN WR17X3343934GEN WR17X3342935GEN WR17X3340935GEN WR17X3341939GEN WR01X1912951GEN WR17X3348952GEN WR17X3344953GEN WR17X3349970GEN WR01X1969