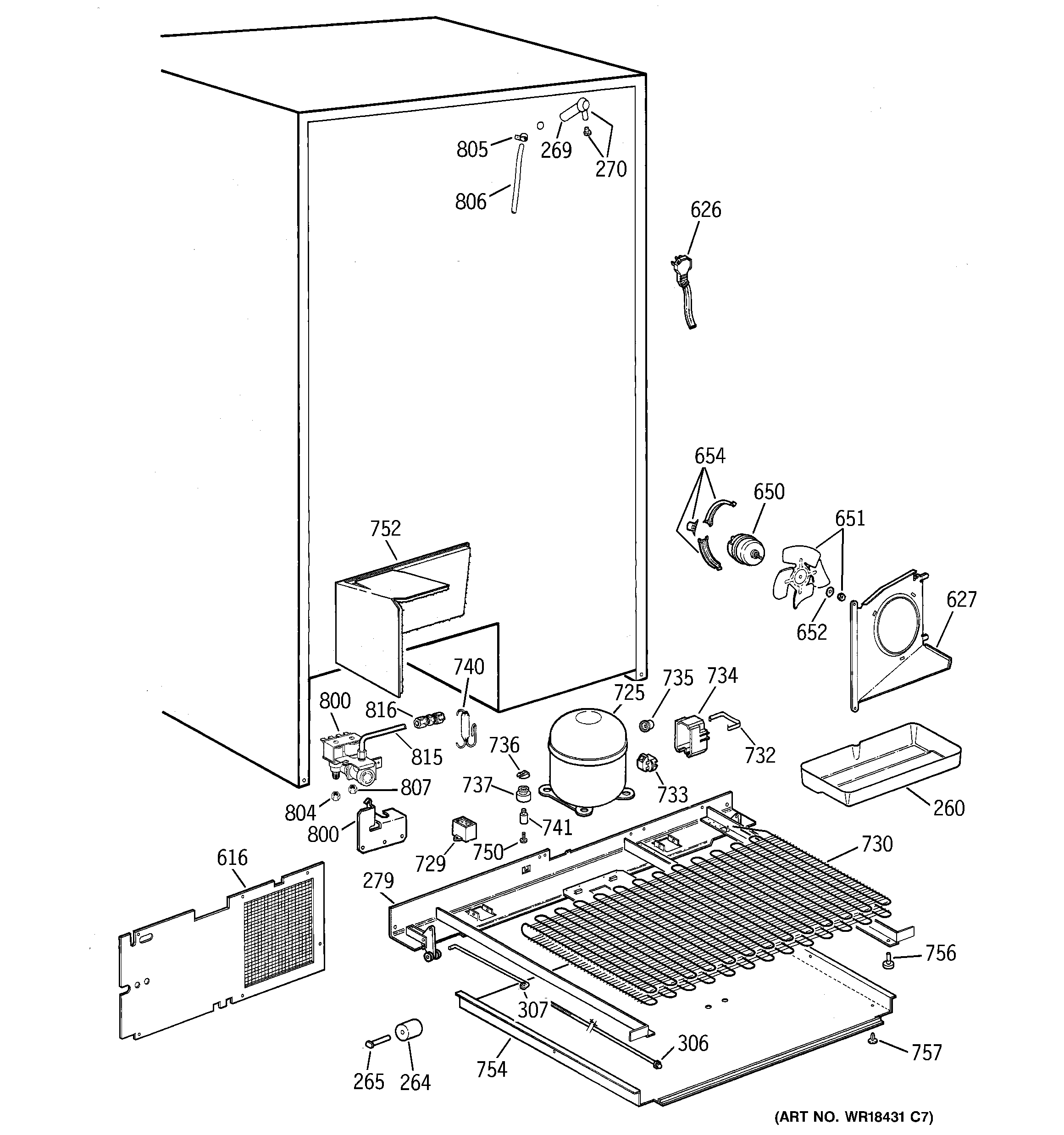
TPG24PFBABB UNIT PARTS