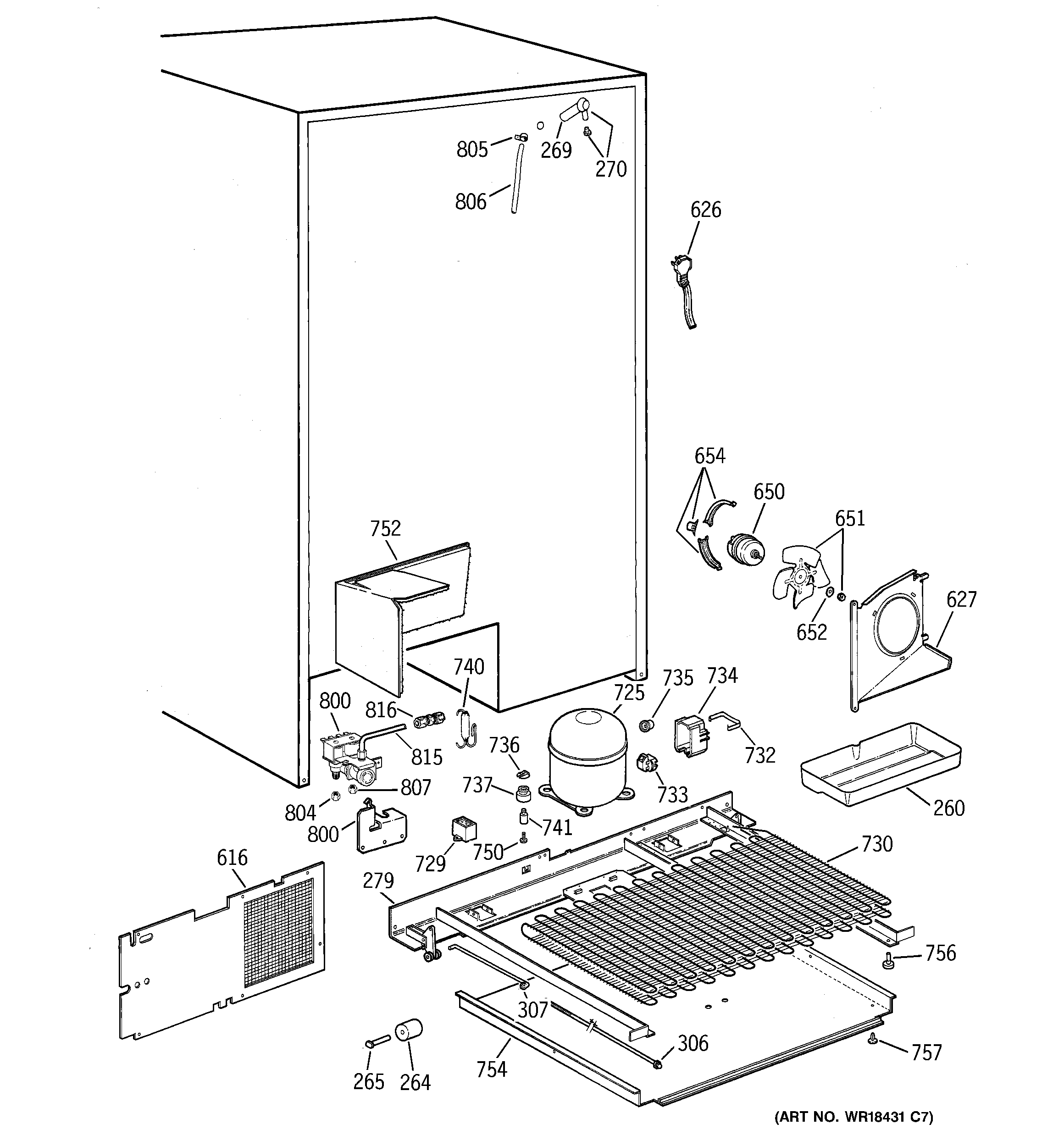
TPG24PFBAWW UNIT PARTS