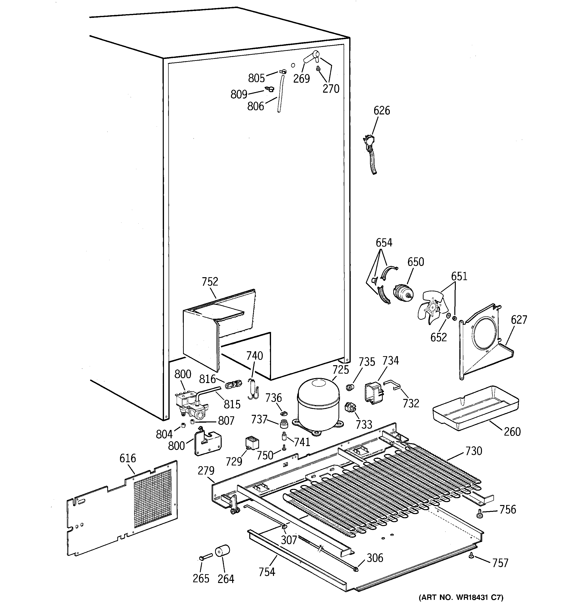
| 260 | GEN WR32X10011 |
| 264 | WHEEL MOBILITY REAR |
| 265 | GEN WR01X2050 |
| 269 | GEN WR02X7927 |
| 270 | WR2X4754 GE Refrigerator Fill Clamp |
| 270 | WR2X8474 GE Fill Tube |
| 279 | GEN WR17X10397 |
| 306 | GEN WR01X2146 |
| 307 | GEN WR01X2145 |
| 616 | GEN WR82X10008 |
| 626 | GEN WR23X0487 |
| 627 | GEN WR17X10189 |
| 650 | GEN WR60X0267 |
| 651 | GEN WR01X1515 |
| 651 | GEN WR60X0234 |
| 652 | WASHER COND MTR |
| 654 | GEN WR02X10027 |
| 654 | GEN WR01X2019 |
| 725 | GEN WR87X0506 |
| 729 | WR62X10013 GE Refrigerator Capacitor |
| 730 | GEN WR84X0213 |
| 732 | CLAMP RELAY COVER |
| 733 | GEN WR07X0263 |
| 734 | COVER RELAY |
| 735 | GEN WR08X0198 |
| 736 | GEN WR02X8203 |
| 737 | WR02X22869 GE Refrigerator Grommet |
| 740 | WR86X25269 GE Refrigerator R134 Dryer |
| 741 | WR1X1779 GE Refrigerator Stud Mounting Compressor |
| 750 | WR1X1786 GE Refrigerator Screw |
| 752 | GEN WR82X10028 |
| 754 | GEN WR82X10054 |
| 756 | GEN WR01X2021 |
| 757 | GEN WR01X2035 |
| 800 | WR57X10052 GE Refrigerator Water Valve Kit |
| 800 | GEN WR02X10158 |
| 804 | WR57X57 GE Refrigerator Nut |
| 805 | WR1X5278 GE Refrigerator Cable Clamp |
| 806 | GEN WR17X10045 |
| 807 | WR02X11330 GE Refrigerator 5/16 Union Water Line Connector |
| 807 | INSERT 5/16 |
| 809 | WR1X1936 GE Refrigerator Fastener |
| 815 | GEN WR57X10001 |
| 816 | GEN WR57X10021 |