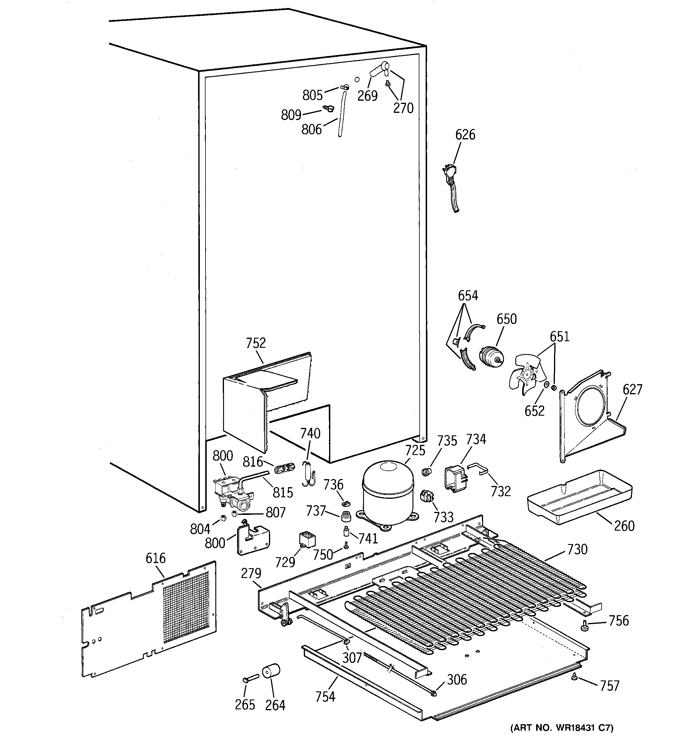
TPG24PFCCWW UNIT PARTS