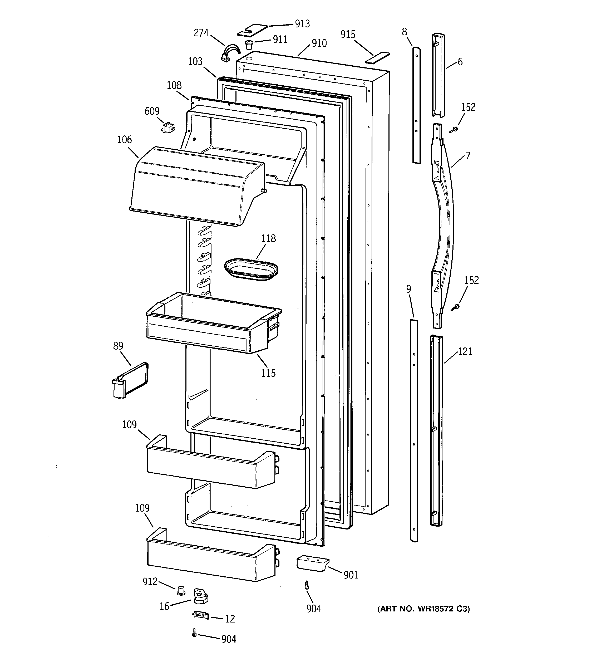
TPG24PRBBWW FRESH FOOD DOOR