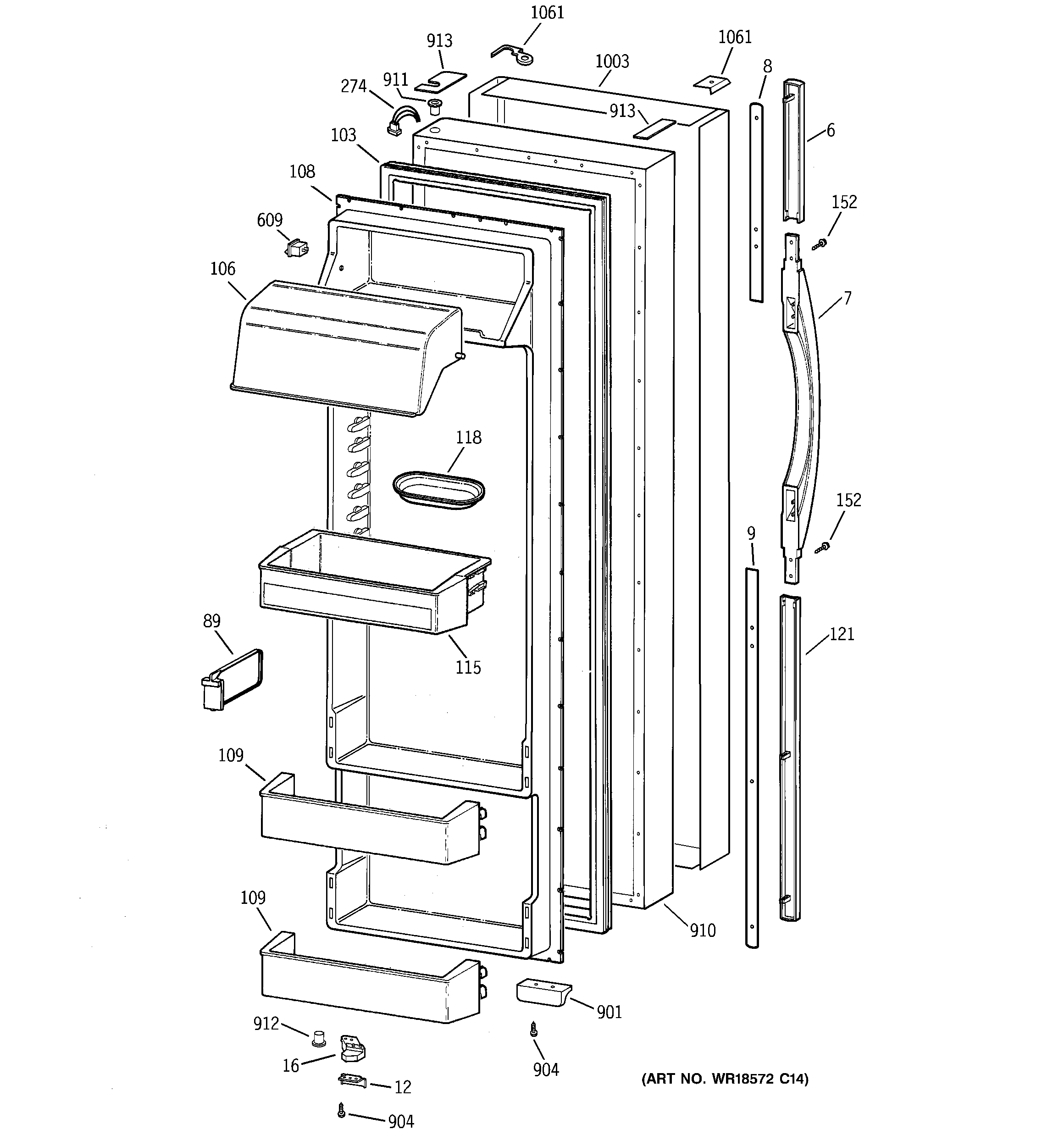
TPG24PRCCBS FRESH FOOD DOORadmin2025-04-26T12:38:41+00:00TPG24PRCCBS FRESH FOOD DOOR ProductsPositionProduct6GEN WR12X101517GEN WR12X101328GEN WR12X101509GEN WR12X1019012GEN WR02X1002816GEN WR02X924689GEN WR02X9444103GEN WR24X0562106GEN WR22X0524108GEN WR77X0675109GEN WR71X2700115GEN WR71X2702118GEN WR19X0037121GEN WR12X10192152GEN WR01X10038274GEN WR23X10041609GEN WR23X10016901GEN WR10X0126904WR01X10610 GE Refrigerator Screw 10-32 GX PNT20 1 S L910GEN WR78X10132911GEN WR01X2041912GEN WR01X2132913GEN WR01X21471003GEN WR99X100051061GEN WR02X101291061GEN WR02X10131