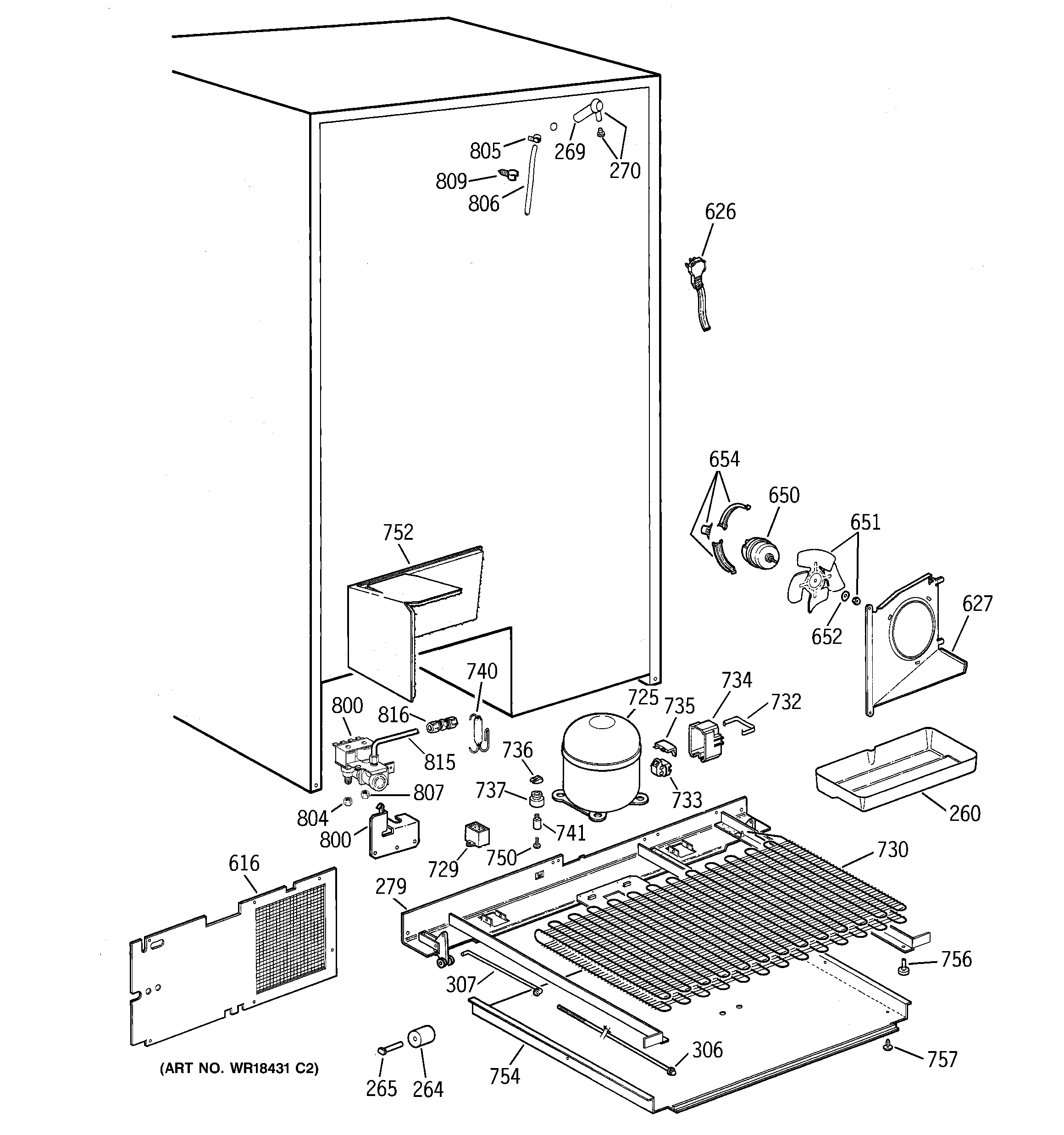
TPG24PRCEBB UNIT PARTS