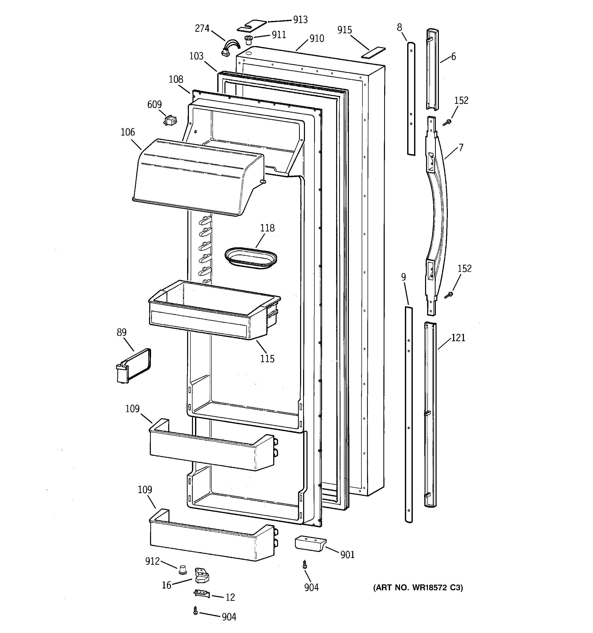
TPK24PRBCAA FRESH FOOD DOOR