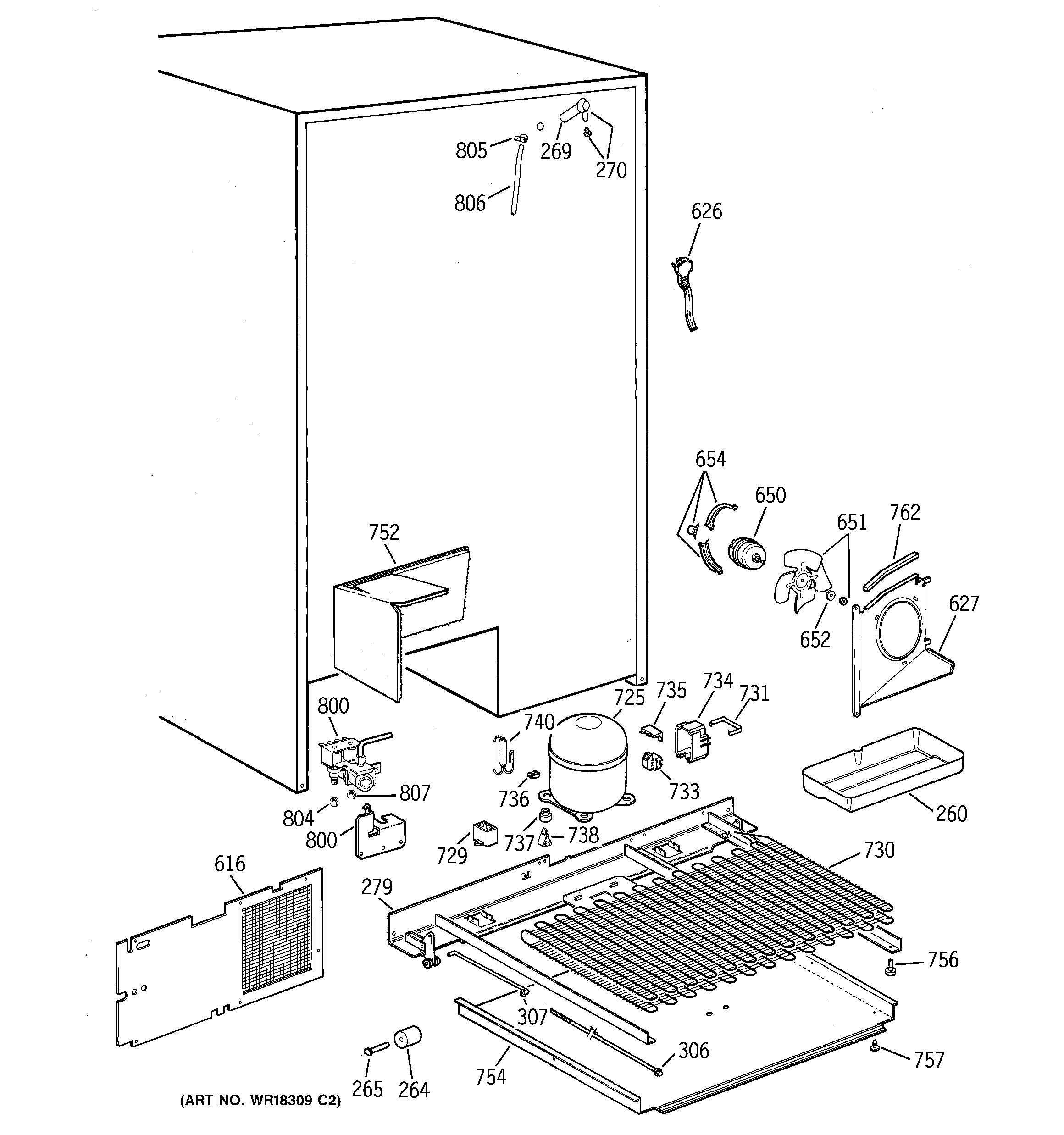
| 260 | GEN WR32X1462 |
| 264 | WHEEL MOBILITY REAR |
| 265 | GEN WR01X2050 |
| 269 | GEN WR02X7927 |
| 270 | WR2X4754 GE Refrigerator Fill Clamp |
| 270 | WR2X8474 GE Fill Tube |
| 279 | GEN WR17X4209 |
| 306 | GEN WR01X2146 |
| 307 | GEN WR01X2145 |
| 616 | GEN WR82X0380 |
| 626 | WR23X10300 GE Refrigerator Power Cord Assembly |
| 627 | GEN WR17X3843 |
| 627 | WR1X5278 GE Refrigerator Cable Clamp |
| 650 | WR60X225 GE Refrigerator Condenser Fan Motor |
| 651 | GEN WR60X0234 |
| 651 | GEN WR01X1515 |
| 652 | WASHER COND MTR |
| 654 | GEN WR01X2019 |
| 654 | GEN WR02X9240 |
| 725 | WR87X20798 GE Refrigerator High Side Assembly |
| 729 | WR55X24064 GE Refrigerator Run Capacitor |
| 730 | GEN WR84X0213 |
| 731 | CLAMP RELAY COVER |
| 733 | WR07X10055 GE Refrigerator PTCR Relay |
| 734 | COVER RELAY |
| 735 | GEN WR08X0170 |
| 736 | WR2X8583 GE Refrigerator Clip |
| 737 | GEN WR02X9237 |
| 738 | WR1X1779 GE Refrigerator Stud Mounting Compressor |
| 740 | WR86X25269 GE Refrigerator R134 Dryer |
| 752 | GEN WR82X0359 |
| 754 | GEN WR82X0387 |
| 756 | GEN WR01X2021 |
| 757 | GEN WR01X2035 |
| 762 | GEN WR14X0461 |
| 800 | GEN WR02X9232 |
| 800 | WR57X10051 GE Refrigerator Water Valve Kit |
| 804 | WR57X57 GE Refrigerator Nut |
| 806 | GEN WR02X9245 |
| 807 | INSERT 5/16 |