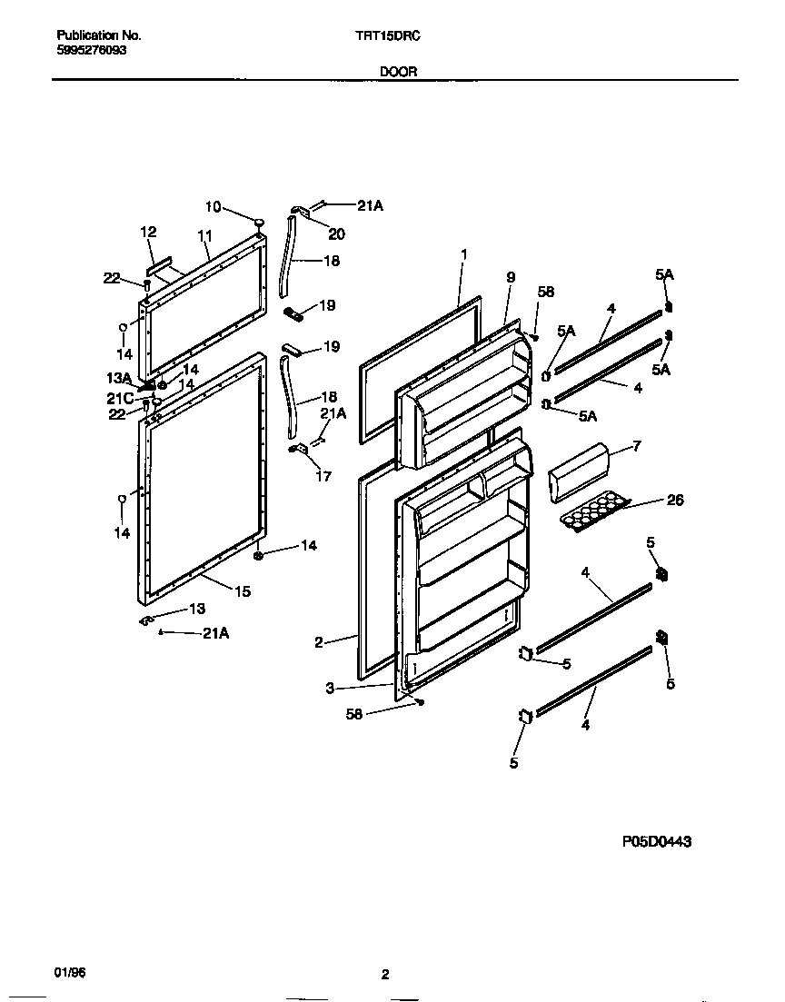
TRT15DRCD1 02 – DOOR